-
专利 -
商标 -
版权 -
商业秘密 -
反不正当竞争 -
植物新品种 -
地理标志 -
集成电路布图设计 -
技术合同 -
传统文化
点击展开全部
近日,国家知识产权局专利复审委员会(以下简称专利复审委)发布第31845号专利无效审查决定,以不具备创造性为由,宣告吉列有限公司持有的200580036089.6号“剃须刀和刀片架”发明专利全部无效。
经查,200580036089.6号“剃须刀和刀片架”发明专利(以下简称涉案专利)的专利权人为吉列有限公司,申请日为2005年10月13日,授权公告日为2009年12月2日。专利摘要显示,该项专利提供了用于将刀片架连接到剃须刀(例如用于湿法剃须的剃须刀)的手柄上的连接结构。据2016年数据,吉列剃须刀已占据该市场的85%份额。目前吉列的产品中,该涉案专利涉及可置换的刀片架的剃须刀,除了吉列锋速3,其他产品均可置换。
2016年7月20日,锋韦个人护理品牌有限责任公司(以下简称锋韦公司)针对涉案专利向专利复审委提出无效宣告请求,请求宣告涉案专利全部无效。
2016年9月12日,专利复审委受理了锋韦公司提出的无效宣告请求。2016年10月26日,吉列公司提交了意见书并修改了权利要求,将涉案专利权利要求从6项修改为8项。将原权利要求3和5合并作为新的独立权利要求1,将原权利要求6作为新的独立权利要求5。修改后的权利要求2为原权利要求2、3、5的方案的合并;修改后的权利要求3为原权利要求4、5的合并,修改后的权利要求4为原权利要求3、6的方案的合并;修改后的权利要求6为原权利要求6、2的方案的合并;修改后的权利要求7为原权利要求6、3、2的方案的合并;修改后的权利要求8为原权利要求6、4、2的方案的合并。
2016年12月29日,专利复审委以吉列公司修改后的权利要求第1-8项,授权公告文本的说明书、说明书附图、摘要、摘要附图作为审查基础。
据了解,权利要求2、3是权利要求1的从属权利要求,权利要求4是权利要求1的从属权利要求,权利要求6是权利要求5的从属权利要求,权利要求8是权利要求7的从属权利要求。因此,独立权利要求1和5是否具备专利法第22条第3款规定的创造性,将直接影响到其余从属权利要求的创造性认定。
涉案专利的权利要求1为,一种可置换的剃刀刀片架,所述剃刀刀片包括:刀片单元,和用于将所述刀片单元连接到手柄上的刀片架连接结构,所述刀片连接结构具有至于柄接纳区,并与所述手柄的手柄连接结构上的外基准表面配合的内基准表面,和所述刀片架连接结构具有至于手柄接纳区的连接口和延伸到手柄接纳区中的突出,所述突出具有朝向连接口的反方向的阻挡表面,以将手柄连接结构保持在刀片架连接结构上;和所述刀片架连接结构也具有刀片单元接纳部分,所述刀片单元接纳部分具有可枢转地接纳刀片单元的壳支承结构;所述刀片架还包括闩锁构件,所述闩锁构件包括可从初始位置移动到偏离位置的接合结构,当接合结构从初始位置移动到偏离位置时,所述阻挡表面从闩锁位置移动到未闩锁位置;并且其中所述刀片架连接结构包括用于相对于刀片架连接结构包括用于相对于刀片架连接结构偏置刀片单元的回位弹簧。
权利要求5为,一种可置换的剃刀刀片架,所述剃刀刀片架包括:刀片单元,和用于将所述刀片单元连接到手柄上的刀片架连接结构,所述刀片架连接结构具有部分地限定手柄接纳区并与所述手柄的手柄连接结构上的外基准表面配合的内基准表面;和所述刀片架连接结构具有至于手柄接纳区的连接口和延伸到手柄接纳区中的突出,所述突出具有朝向连接口的反方向的阻挡表面,以将手柄连接结构保持在刀片架连接结构上;和所述刀片架连接结构也具有刀片单元接纳部分,所述刀片单元接纳部分具有可枢转地接纳刀片单元的壳支撑结构;其中所述刀片架连接结构包括用于相对于刀片架连接结构的偏置刀片单元的回位弹簧;并且其中所述回位弹簧包括弯曲部分。
专利复审委合议组经审理认为:
权利要求1相对于锋韦公司提交的证据1和证据4以及本领域常用技术手段的结合不具备专利法第22条第3款规定的创造性;权利要求5相对于锋韦公司提交的证据1与本领域常用技术手段的结合不具备专利法第22条第3款规定的创造性。
经查,证据1为公告日为1997年7月10日,公告号DE29706022U1的德国实用新型专利专利说明书的复印件;证据4为公开日为2000年7月5日,公开号为CN1259071A的中国发明专利说明书的复印件。
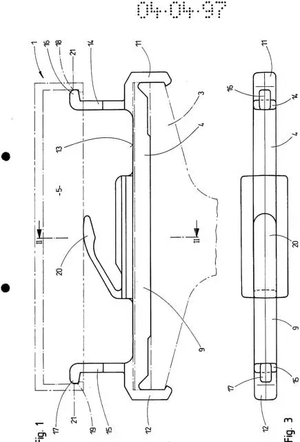
证据1对应DE29706022号的“Handrasierapparat ”(中文名称:手持剃须装置)德国实用新型专利,专利申请日为1997年4月4日,申请人为MERKUR STAHLWAREN GMBH & CO KG,专利摘要附图如下。
(6022号德国实用新型专利附图)
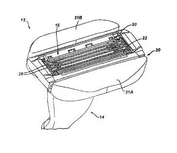
证据4对应吉列有限公司持有的98802681.3号“带手柄和可更换刀架的剃刀系统”发明专利,专利摘要如下:一种可更换的剃刀刀架,它包括一刀片单元(16)、用于将刀片单元(16)连接到一个手柄(12)的手柄连接结构上的刀架连接结构,刀架连接结构具有与手柄连接结构上的外露表面配合的内表面(34),刀片单元(16)可绕枢轴转动地与刀架连接结构连接,刀架连接结构具有一个活动的以使刀架在刀架连接结构撤出手柄连接结构之前与手柄连接结构脱开的锁定件(44)。
(681号中国发明专利说明书附图)
据了解,2015年,劲量控股将其电池业务剥离出去,在美国成立了Edgewell(伊洁维)个人护理公司(亦可译为锋韦个人护理有限公司)。伊洁维公司旗下包括剃须用品、女性用品、母婴保健、护肤、宠物护理品牌。其中,剃须用品包括Schick、WILKINSON SWORD、PERSONNA、edge品牌。
经查,锋韦公司于2015年起在第8类手工器械、第10类医疗器械等与剃须产品紧密相关的商品类别上申请注册包括“舒适”、“SCHICK”在内的多件中国商标。目前,“舒适”系列剃须刀已进入中国市场销售。而吉列公司早在1998年进入中国市场。此次,针对吉列公司的专利无效宣告,或预示着双方的市场争夺先从专利较量开始。
经查,200580036089.6号“剃须刀和刀片架”发明专利(以下简称涉案专利)的专利权人为吉列有限公司,申请日为2005年10月13日,授权公告日为2009年12月2日。专利摘要显示,该项专利提供了用于将刀片架连接到剃须刀(例如用于湿法剃须的剃须刀)的手柄上的连接结构。据2016年数据,吉列剃须刀已占据该市场的85%份额。目前吉列的产品中,该涉案专利涉及可置换的刀片架的剃须刀,除了吉列锋速3,其他产品均可置换。

2016年7月20日,锋韦个人护理品牌有限责任公司(以下简称锋韦公司)针对涉案专利向专利复审委提出无效宣告请求,请求宣告涉案专利全部无效。
2016年9月12日,专利复审委受理了锋韦公司提出的无效宣告请求。2016年10月26日,吉列公司提交了意见书并修改了权利要求,将涉案专利权利要求从6项修改为8项。将原权利要求3和5合并作为新的独立权利要求1,将原权利要求6作为新的独立权利要求5。修改后的权利要求2为原权利要求2、3、5的方案的合并;修改后的权利要求3为原权利要求4、5的合并,修改后的权利要求4为原权利要求3、6的方案的合并;修改后的权利要求6为原权利要求6、2的方案的合并;修改后的权利要求7为原权利要求6、3、2的方案的合并;修改后的权利要求8为原权利要求6、4、2的方案的合并。
2016年12月29日,专利复审委以吉列公司修改后的权利要求第1-8项,授权公告文本的说明书、说明书附图、摘要、摘要附图作为审查基础。
据了解,权利要求2、3是权利要求1的从属权利要求,权利要求4是权利要求1的从属权利要求,权利要求6是权利要求5的从属权利要求,权利要求8是权利要求7的从属权利要求。因此,独立权利要求1和5是否具备专利法第22条第3款规定的创造性,将直接影响到其余从属权利要求的创造性认定。
涉案专利的权利要求1为,一种可置换的剃刀刀片架,所述剃刀刀片包括:刀片单元,和用于将所述刀片单元连接到手柄上的刀片架连接结构,所述刀片连接结构具有至于柄接纳区,并与所述手柄的手柄连接结构上的外基准表面配合的内基准表面,和所述刀片架连接结构具有至于手柄接纳区的连接口和延伸到手柄接纳区中的突出,所述突出具有朝向连接口的反方向的阻挡表面,以将手柄连接结构保持在刀片架连接结构上;和所述刀片架连接结构也具有刀片单元接纳部分,所述刀片单元接纳部分具有可枢转地接纳刀片单元的壳支承结构;所述刀片架还包括闩锁构件,所述闩锁构件包括可从初始位置移动到偏离位置的接合结构,当接合结构从初始位置移动到偏离位置时,所述阻挡表面从闩锁位置移动到未闩锁位置;并且其中所述刀片架连接结构包括用于相对于刀片架连接结构包括用于相对于刀片架连接结构偏置刀片单元的回位弹簧。
权利要求5为,一种可置换的剃刀刀片架,所述剃刀刀片架包括:刀片单元,和用于将所述刀片单元连接到手柄上的刀片架连接结构,所述刀片架连接结构具有部分地限定手柄接纳区并与所述手柄的手柄连接结构上的外基准表面配合的内基准表面;和所述刀片架连接结构具有至于手柄接纳区的连接口和延伸到手柄接纳区中的突出,所述突出具有朝向连接口的反方向的阻挡表面,以将手柄连接结构保持在刀片架连接结构上;和所述刀片架连接结构也具有刀片单元接纳部分,所述刀片单元接纳部分具有可枢转地接纳刀片单元的壳支撑结构;其中所述刀片架连接结构包括用于相对于刀片架连接结构的偏置刀片单元的回位弹簧;并且其中所述回位弹簧包括弯曲部分。
专利复审委合议组经审理认为:
权利要求1相对于锋韦公司提交的证据1和证据4以及本领域常用技术手段的结合不具备专利法第22条第3款规定的创造性;权利要求5相对于锋韦公司提交的证据1与本领域常用技术手段的结合不具备专利法第22条第3款规定的创造性。
经查,证据1为公告日为1997年7月10日,公告号DE29706022U1的德国实用新型专利专利说明书的复印件;证据4为公开日为2000年7月5日,公开号为CN1259071A的中国发明专利说明书的复印件。
证据1对应DE29706022号的“Handrasierapparat ”(中文名称:手持剃须装置)德国实用新型专利,专利申请日为1997年4月4日,申请人为MERKUR STAHLWAREN GMBH & CO KG,专利摘要附图如下。

(6022号德国实用新型专利附图)
证据4对应吉列有限公司持有的98802681.3号“带手柄和可更换刀架的剃刀系统”发明专利,专利摘要如下:一种可更换的剃刀刀架,它包括一刀片单元(16)、用于将刀片单元(16)连接到一个手柄(12)的手柄连接结构上的刀架连接结构,刀架连接结构具有与手柄连接结构上的外露表面配合的内表面(34),刀片单元(16)可绕枢轴转动地与刀架连接结构连接,刀架连接结构具有一个活动的以使刀架在刀架连接结构撤出手柄连接结构之前与手柄连接结构脱开的锁定件(44)。

(681号中国发明专利说明书附图)
据了解,2015年,劲量控股将其电池业务剥离出去,在美国成立了Edgewell(伊洁维)个人护理公司(亦可译为锋韦个人护理有限公司)。伊洁维公司旗下包括剃须用品、女性用品、母婴保健、护肤、宠物护理品牌。其中,剃须用品包括Schick、WILKINSON SWORD、PERSONNA、edge品牌。
经查,锋韦公司于2015年起在第8类手工器械、第10类医疗器械等与剃须产品紧密相关的商品类别上申请注册包括“舒适”、“SCHICK”在内的多件中国商标。目前,“舒适”系列剃须刀已进入中国市场销售。而吉列公司早在1998年进入中国市场。此次,针对吉列公司的专利无效宣告,或预示着双方的市场争夺先从专利较量开始。



首页
上一篇 

评论