
-
专利
-
商标
-
版权
-
商业秘密
-
反不正当竞争
-
植物新品种
-
地理标志
-
集成电路布图设计
-
技术合同
-
传统文化
点击展开全部
律师动态
更多 >>知产速递
更多 >>审判动态
更多 >>案例聚焦
更多 >>法官视点
更多 >>裁判文书
更多 >>
??????? 可穿戴设备市场有多火,相信大家都一定非常了解。除了传统智能手机厂商之外,在可穿戴设备的大潮下奥林巴斯也不能免俗地跳进了这一领域。
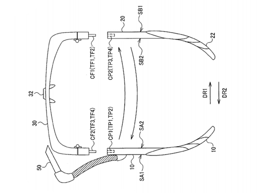
??????? 奥林巴斯最近申请的一份专利文件曝光了一副与Google Glass类似的眼镜设备。两者之间只有细微的差别。当然,鉴于该公司的核心业务仍在摄影市场,该设备的上市时间可能不会太早(能不能上市也是问题)。?
??????? 有趣的是,奥林巴斯将会进一步推进智能眼镜,配置双显示屏,也就是说两个微型显示器分别覆盖在两只眼睛上。根据专利文件的摘要,奥利巴斯智能眼镜将会配置一个摄像头,至少有一个眼镜臂是安装了电子元件的。专利文件中奥林巴斯将智能眼镜耳机组件描述为“镜腿侧组件”,并强调“智能眼镜捕捉到的图像,从眼镜前方传送到镜腿侧电子/电器组件上”。?
??????? 考虑到奥林巴斯的核心业务在摄影市场,这款可穿戴设备将以摄影功能作为核心也不出为奇,尽管目前一切都只是猜测。
??????? 奥林巴斯最近申请的一份专利文件曝光了一副与Google Glass类似的眼镜设备。两者之间只有细微的差别。当然,鉴于该公司的核心业务仍在摄影市场,该设备的上市时间可能不会太早(能不能上市也是问题)。?
??????? 有趣的是,奥林巴斯将会进一步推进智能眼镜,配置双显示屏,也就是说两个微型显示器分别覆盖在两只眼睛上。根据专利文件的摘要,奥利巴斯智能眼镜将会配置一个摄像头,至少有一个眼镜臂是安装了电子元件的。专利文件中奥林巴斯将智能眼镜耳机组件描述为“镜腿侧组件”,并强调“智能眼镜捕捉到的图像,从眼镜前方传送到镜腿侧电子/电器组件上”。?
??????? 考虑到奥林巴斯的核心业务在摄影市场,这款可穿戴设备将以摄影功能作为核心也不出为奇,尽管目前一切都只是猜测。
评论