
-
专利
-
商标
-
版权
-
商业秘密
-
反不正当竞争
-
植物新品种
-
地理标志
-
集成电路布图设计
-
技术合同
-
传统文化
点击展开全部
律师动态
更多 >>知产速递
更多 >>审判动态
更多 >>案例聚焦
更多 >>法官视点
更多 >>裁判文书
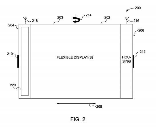
更多 >>??????? 虽然苹果现在饱受所谓“弯曲门”带来的困扰,但在未来,柔性显示屏可能会成为真正让人激动的功能。在本周所曝光的一项专利当中,苹果就描述了一种移动设备利用柔性显示屏的奇怪方式。?
??????? 苹果的这项专利描述了一种“拥有自适应柔性显示屏的移动电子设备”,并介绍了该技术的几种不同应用方式,范围包括个人使用和“数字期刊广告”。?
??????? 配备了这种柔性屏幕的移动设备可以从静态服务器上请求和显示多媒体内容。在某些情况下,来自该服务器的数据可以通过彩信被推送到设备当中,而数据请求可以通过弯曲、折叠或改变柔性屏幕形状的方式触发。当显示屏被弯曲或折叠时,其显示的数据可以自行适应其新的形状。?
??????? 此外,专利还描述了可应用于本地化广告的GPS推送触发器、无线充电中枢的检测,以及详细的彩信参数。?
??????? 虽然苹果在短时间内并不会推出这种柔性显示屏,但我们对于这家公司那些奇奇怪怪的想法非常感兴趣。也许苹果会在未来某一天为iPhone和iPad的显示屏配备柔性材料,但在此之前,你并不应该去尝试掰弯自己的设备。
评论