-
专利 -
商标 -
版权 -
商业秘密 -
反不正当竞争 -
植物新品种 -
地理标志 -
集成电路布图设计 -
技术合同 -
传统文化
点击展开全部
律师动态
更多 >>知产速递
更多 >>审判动态
更多 >>案例聚焦
更多 >>法官视点
更多 >>裁判文书
更多 >>
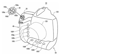
??????? 根据外网报道,尼康最近悄然透露了一项最新的技术专利,并且可能将这体感技术设计在新型的数码单反相机上。?
??????? 该技术专利是在9月8日被公布的,只要是以“体感”快门帮助用户捕捉拍摄动态物件,提升取景的准确度。?
??????? 具体来看:当相机在侦测被摄物移动的方向后,会在快门与其他手握位置内设定的震动系统,通知用户应该把相机用甚么速度移向哪个方向,来准确捕捉移动中的物件,确保被摄物依然在画面之内。这项技术实现之后,用户即使不紧盯着观景器,也能轻易拍到动态物件。?
??????? 震动回馈或震动提示技术在手机以及高端游戏机的应用上已非新鲜事,从这次尼康的新专利中,可见研发人员持续开发震动或其他体感在相机类产品上应用的可能性。

??????? 该技术专利是在9月8日被公布的,只要是以“体感”快门帮助用户捕捉拍摄动态物件,提升取景的准确度。?
??????? 具体来看:当相机在侦测被摄物移动的方向后,会在快门与其他手握位置内设定的震动系统,通知用户应该把相机用甚么速度移向哪个方向,来准确捕捉移动中的物件,确保被摄物依然在画面之内。这项技术实现之后,用户即使不紧盯着观景器,也能轻易拍到动态物件。?
??????? 震动回馈或震动提示技术在手机以及高端游戏机的应用上已非新鲜事,从这次尼康的新专利中,可见研发人员持续开发震动或其他体感在相机类产品上应用的可能性。




首页
上一篇 

评论