-
专利 -
商标 -
版权 -
商业秘密 -
反不正当竞争 -
植物新品种 -
地理标志 -
集成电路布图设计 -
技术合同 -
传统文化
点击展开全部
律师动态
更多 >>知产速递
更多 >>审判动态
更多 >>案例聚焦
更多 >>法官视点
更多 >>裁判文书
更多 >>
??????? 苹果在多领域申请专利已经屡见不鲜,不过这次给iOS/Mac设备增加的烟雾探测功能还具有非常不错的实用价值。
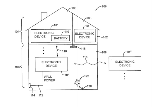
??????? 苹果在iOS 8系统中加入了全新的HomeKit智能家居平台,显示出了该公司对智能家居领域也充满了兴趣。那么,除了将其它智能家居设备的数据进行整合之外,苹果似乎也有兴趣推出属于自己的智能家居产品硬件。根据国外媒体报道,美国专利商标局今日授权通过了苹果公司递交的一项专利申请。这项专利是一个无线烟雾探测器,这意味着苹果未来的Mac和iOS设备或将新增烟雾警报功能。?
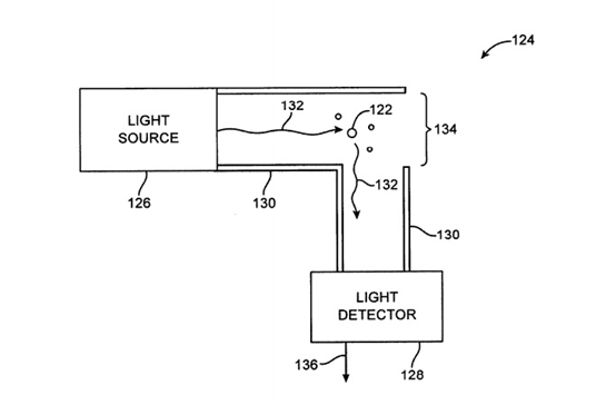
??????? 苹果在专利文件中描述道,这个无线烟雾探测器基于一套光检测系统,可以通过内置的光线传感器来侦测光束中是否混合烟雾颗粒,或者探测出在一定范围空间内是否为无烟环境。?
??????? 如果侦测出冒烟或起火的情况,苹果设备将会触发一系列警报机制,不仅可以针对室内做出警报提醒,还可以向其他苹果设备实时发出警报,比如MacBook Air检测到厨房发生了火灾,那么你的iPhone将会自动提醒出现特殊情况。此外,它还能够向911呼叫紧急援助,同时还可以远程控制启动洒水装置,在紧急情况下,手机还可以开启位置服务,这样如果被困的话就可以更容易被人施救。
??????? 专利文件中展示了笔记本电脑,平板电脑,手机和手表产品,暗示着苹果可能打算在全线产品中嵌入烟雾传感器。但根据以往苹果的专利政策,大多数专利都不会真正实现,但起码苹果在考虑了。

??????? 苹果在iOS 8系统中加入了全新的HomeKit智能家居平台,显示出了该公司对智能家居领域也充满了兴趣。那么,除了将其它智能家居设备的数据进行整合之外,苹果似乎也有兴趣推出属于自己的智能家居产品硬件。根据国外媒体报道,美国专利商标局今日授权通过了苹果公司递交的一项专利申请。这项专利是一个无线烟雾探测器,这意味着苹果未来的Mac和iOS设备或将新增烟雾警报功能。?

??????? 苹果在专利文件中描述道,这个无线烟雾探测器基于一套光检测系统,可以通过内置的光线传感器来侦测光束中是否混合烟雾颗粒,或者探测出在一定范围空间内是否为无烟环境。?
??????? 如果侦测出冒烟或起火的情况,苹果设备将会触发一系列警报机制,不仅可以针对室内做出警报提醒,还可以向其他苹果设备实时发出警报,比如MacBook Air检测到厨房发生了火灾,那么你的iPhone将会自动提醒出现特殊情况。此外,它还能够向911呼叫紧急援助,同时还可以远程控制启动洒水装置,在紧急情况下,手机还可以开启位置服务,这样如果被困的话就可以更容易被人施救。

??????? 专利文件中展示了笔记本电脑,平板电脑,手机和手表产品,暗示着苹果可能打算在全线产品中嵌入烟雾传感器。但根据以往苹果的专利政策,大多数专利都不会真正实现,但起码苹果在考虑了。




首页
上一篇 

评论