
-
专利
-
商标
-
版权
-
商业秘密
-
反不正当竞争
-
植物新品种
-
地理标志
-
集成电路布图设计
-
技术合同
-
传统文化
点击展开全部
律师动态
更多 >>知产速递
更多 >>审判动态
更多 >>案例聚焦
更多 >>法官视点
更多 >>裁判文书
更多 >>
大家都知道苹果背部有一个品牌LOGO,过去只是作为品牌标识使用,不过未来这个LOGO将发挥重大作用。据美国科技网站appleinsider报道,美国商标专利局通过了苹果提交的一份专利,描述了iPhone背部LOGO可整合多种传感器,未来的苹果LOGO可进行指纹识别、心跳监测和其他数据的读取。
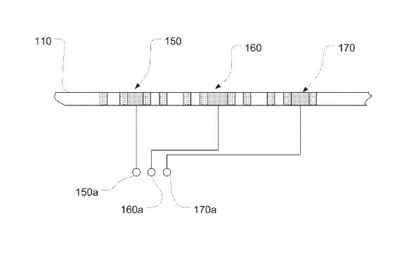
苹果提交给美国商标专利局(the U.S. Patent and Trademark Office)的这份专利名为“隐藏电子连接器”(concealed electrical connectors),专利描述了一个电路系统,该电路可以分布于iPhone外壳结构上的多个开孔,根据不同的场景进行配置,每个开孔的一部分都可以用于识别传感设备。
此电路系统可以将传感器整合到移动设备上,专利中提到了皮肤传导传感器,心率监听器和指纹传感器,可以使用这些电路进行指纹识别、心跳监测和其他数据的读取。
同时,苹果还在文件中谈及了充电接口和其他一些机械接口设计的应用可能(就比如此前Mac电脑上的Megsafe磁力接口)以及不久前才在苹果手表中首次推出的无线充电功能。然而,该公司并没有在这份文件中详细说明这些设计的未来应用可能。
当然,同此前许多的苹果专利申请一样,我们尚不清楚上述的任何功能或者设计想法未来是否会出现在任何一款量产机型中。不过就拿现有的iPhone 6来说,这款机型采用了尽可能的一体化设计,手机背面除了一个苹果Logo以及两条天线以外还拥有着大量空间可供利用,就比如加入生物识别传感器以及其他一些传感器。
之前有传闻称苹果未来会取消Home键,但是如果取消Home键,Touch ID指纹识别可能就无处安放了,所以苹果打算将指纹识别整合到屏幕里面。不过现在这个专利倒是提供了另一种解决办法,只是不知道苹果倾向于采用哪种。
苹果的这项专利申请最早是在2013年12月提交的,其发明人是尼古拉斯-金(Nicholas King),后者同时也是此前iOS同步互动增强现实屏幕以及无线分享技术的专利发明者。
苹果提交给美国商标专利局(the U.S. Patent and Trademark Office)的这份专利名为“隐藏电子连接器”(concealed electrical connectors),专利描述了一个电路系统,该电路可以分布于iPhone外壳结构上的多个开孔,根据不同的场景进行配置,每个开孔的一部分都可以用于识别传感设备。
此电路系统可以将传感器整合到移动设备上,专利中提到了皮肤传导传感器,心率监听器和指纹传感器,可以使用这些电路进行指纹识别、心跳监测和其他数据的读取。
同时,苹果还在文件中谈及了充电接口和其他一些机械接口设计的应用可能(就比如此前Mac电脑上的Megsafe磁力接口)以及不久前才在苹果手表中首次推出的无线充电功能。然而,该公司并没有在这份文件中详细说明这些设计的未来应用可能。
当然,同此前许多的苹果专利申请一样,我们尚不清楚上述的任何功能或者设计想法未来是否会出现在任何一款量产机型中。不过就拿现有的iPhone 6来说,这款机型采用了尽可能的一体化设计,手机背面除了一个苹果Logo以及两条天线以外还拥有着大量空间可供利用,就比如加入生物识别传感器以及其他一些传感器。
之前有传闻称苹果未来会取消Home键,但是如果取消Home键,Touch ID指纹识别可能就无处安放了,所以苹果打算将指纹识别整合到屏幕里面。不过现在这个专利倒是提供了另一种解决办法,只是不知道苹果倾向于采用哪种。
苹果的这项专利申请最早是在2013年12月提交的,其发明人是尼古拉斯-金(Nicholas King),后者同时也是此前iOS同步互动增强现实屏幕以及无线分享技术的专利发明者。
评论