
-
专利
-
商标
-
版权
-
商业秘密
-
反不正当竞争
-
植物新品种
-
地理标志
-
集成电路布图设计
-
技术合同
-
传统文化
点击展开全部
律师动态
更多 >>知产速递
更多 >>审判动态
更多 >>案例聚焦
更多 >>法官视点
更多 >>裁判文书
更多 >>
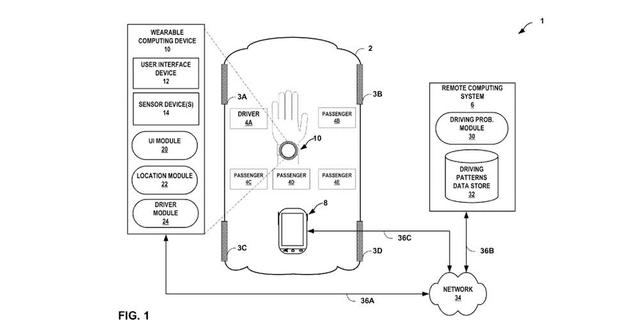
??????? 通过其无人驾驶汽车项目,谷歌可能在无人驾驶技术方面取得了重大进展,但它在无人驾驶汽车领域的研究不仅仅局限于此。据9to5Google网站报道,美国专利商标局最近披露的文件显示,谷歌开发的一款车载工具,能通过用户的可穿戴设备的活动判断用户是司机还是乘客。?
??????? 谷歌开发这一专利技术的目的纯粹是为了行车安全。谷歌在专利申请文件中称,坐在汽车里时,许多用户都希望使用手机、导航系统和平板电脑的众多特性。但是,对这些设备部分特性的使用会造成安全隐患,甚至是非法的。通过综合利用位置传感器和动作传感器,从理论上说谷歌的系统能分辨出哪些可穿戴设备佩戴在司机手腕上。?
??????? 9to5Google表示,专利申请文件称谷歌的系统能首先判断可穿戴设备或移动设备是否位于行驶的车辆中,然后利用动作传感器计算佩戴者驾驶车辆的概率。例如,司机可能转动方向盘,操纵手刹或变速杆,完成多种与驾车有关的其他动作。如果可穿戴设备探测到这类动作,佩戴者是司机的概率达到一定值,就会向特定设备发送执行某一操作的信息,例如,限制收发短信或上网冲浪等功能。?
??????? 值得指出的是,申请专利并不意味着谷歌会面向公众发布这一工具。
评论