广州一品香论坛_ypx登录,全国桑拿一品楼,良家凤楼论坛信息,唐人阁一品楼论坛

中文

创新产生权利

点击展开全部

律师动态

更多 >>

知产速递

更多 >>

法律宝库

更多 >>

苹果获得新专利:超低键程键盘

发布时间:2015-11-10 来源:IT之家 作者:
标签: 苹果
字号: +-
563
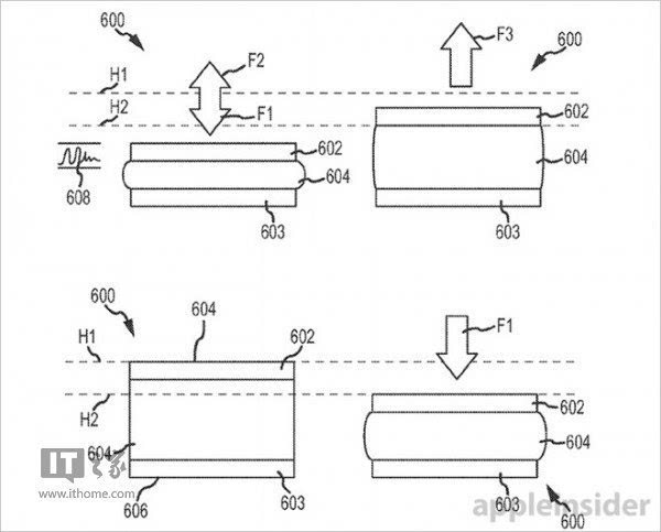
??????? 11月3日消息 据悉,苹果公司研究了如何在Mac键盘当中集成压力触摸技术,目前苹果已经获得美国专利和商标局授予的“超低键程键盘”专利,根据这项已经公布的专利,苹果可以通过消除物理开关减少键的高度。取消键盘中的机械开关,将节省珍贵的几毫米高度,甚至允许更薄的MacBook设计。
  ?


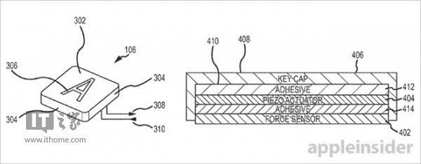
  专利显示,苹果通过堆叠式传感器、执行器和支持电路替代机械式开关。?

  从理论上说,这项专利系统运行类似于苹果的压力触控板,但是这项专利则可以精细确定输入力的水平,苹果的键盘和共存逻辑软件可以支持每个按键多个操作。例如,在A键上施加第一档的压力可以输入字母A,而第二档压力可以触发系统命令或其他功能。
  


  

评论