
-
专利
-
商标
-
版权
-
商业秘密
-
反不正当竞争
-
植物新品种
-
地理标志
-
集成电路布图设计
-
技术合同
-
传统文化
点击展开全部
律师动态
更多 >>知产速递
更多 >>审判动态
更多 >>案例聚焦
更多 >>法官视点
更多 >>裁判文书
更多 >>
??????? 早在几年前,福特、现代和路虎等车企便已开始尝试为各自旗下一些高端车型配备水坑灯,当在夜间条件下时,其可以照亮汽车周边的路面,从而防止驾驶员和乘客在下车时陷入水坑或发生其它潜在的危险(例如踩到宠物狗)。
??????? 如今,一些厂商又打算围绕水坑灯做一番文章,比如让水坑灯“摇身一变”,成为一个小型投影仪,其可以将车标等复杂的图案投射到地面上,创意十足。?
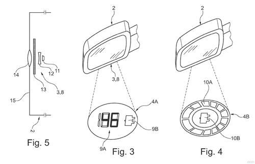
??????? 近日,福特向当局申请了一项新专利,该专利也展示了其关于水坑灯的新想法。曾风靡一时的“懒人时钟”通过将时间信息显示在墙上或天花板上,给不少人提供了便利。而福特正是借鉴了这种灵感,并将其应用于纯电动车和插电混动车领域。?
??????? 根据福特提交的专利文件,位于外后视镜处的水坑灯可以将电动车电池充电状态信息投射到地面上,车主无需进入车内,便可直接查看车辆是否已完成充电。?
??????? 宝马此前也曾展示较为高效的解决方案,其利用智能钥匙来实时显示电动车电池剩余电量以及续航里程信息。其它厂商也开发了智能手机应用程序来远程控制车辆的部分功能,这些新创意受到了不少驾驶员的青睐。?
??????? 今年5月份,福特曾宣布将公开上千项电动车专利,包括电池充电平衡、电动车随温能量再生制动系统(Temperature Dependent Regenerative Brake System for Electric Vehicle)、驾驶行为反馈界面(Driving Behavior Feedback Interface)等。?
??????? 随后,福特再次公开了其在汽车内饰设计和安全方面的专利,该专利展示的主要内容是汽车座舱座椅布局,特别是当车辆进入自动驾驶模式后,座椅采用的设计思路;智能“发光”车身专利则利用车身面板LED发光部件给周边行人、车辆或其它道路使用者予以警示,提升了行车安全。?
??????? 自今年公布智能移动计划(Smart Mobility Plan)以来,福特希望通过一系列的创新使该公司在连接、移动性、自动驾驶汽车、客户体验和大数据领域达到新高度。
??????? 如今,一些厂商又打算围绕水坑灯做一番文章,比如让水坑灯“摇身一变”,成为一个小型投影仪,其可以将车标等复杂的图案投射到地面上,创意十足。?
??????? 近日,福特向当局申请了一项新专利,该专利也展示了其关于水坑灯的新想法。曾风靡一时的“懒人时钟”通过将时间信息显示在墙上或天花板上,给不少人提供了便利。而福特正是借鉴了这种灵感,并将其应用于纯电动车和插电混动车领域。?
??????? 根据福特提交的专利文件,位于外后视镜处的水坑灯可以将电动车电池充电状态信息投射到地面上,车主无需进入车内,便可直接查看车辆是否已完成充电。?
??????? 宝马此前也曾展示较为高效的解决方案,其利用智能钥匙来实时显示电动车电池剩余电量以及续航里程信息。其它厂商也开发了智能手机应用程序来远程控制车辆的部分功能,这些新创意受到了不少驾驶员的青睐。?
??????? 今年5月份,福特曾宣布将公开上千项电动车专利,包括电池充电平衡、电动车随温能量再生制动系统(Temperature Dependent Regenerative Brake System for Electric Vehicle)、驾驶行为反馈界面(Driving Behavior Feedback Interface)等。?
??????? 随后,福特再次公开了其在汽车内饰设计和安全方面的专利,该专利展示的主要内容是汽车座舱座椅布局,特别是当车辆进入自动驾驶模式后,座椅采用的设计思路;智能“发光”车身专利则利用车身面板LED发光部件给周边行人、车辆或其它道路使用者予以警示,提升了行车安全。?
??????? 自今年公布智能移动计划(Smart Mobility Plan)以来,福特希望通过一系列的创新使该公司在连接、移动性、自动驾驶汽车、客户体验和大数据领域达到新高度。
评论