
-
专利
-
商标
-
版权
-
商业秘密
-
反不正当竞争
-
植物新品种
-
地理标志
-
集成电路布图设计
-
技术合同
-
传统文化
点击展开全部
律师动态
更多 >>知产速递
更多 >>审判动态
更多 >>案例聚焦
更多 >>法官视点
更多 >>裁判文书
更多 >>2015年美国10大科技专利申请
发布时间:2016-02-16
来源:ipwatchdog
作者:Steve Brachmann
字号: +-
563
?????? 2015年可谓是科技领域风起云涌的一年,重大创新技术层出不穷,主要体现在无人驾驶汽车、可穿戴设备、数字钱包等,在美国拉斯维加斯CES上,以上各种炫酷设备赚足了眼球。过去一年里声名显赫的十大专利申请,包括为干旱地区提供淡水,电子产品无线充电设备,收集和再传送太阳能。?
?????? 现在就让我们一起回顾一下2015年那些令人刻骨铭心的科技专利吧。?
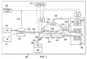
?????? NO10:采用燃料电池技术,波音研发废水采集系统?
?????? 专利名称:废水收集系统?
?????? 在美专利申请号:9088018?
?????? NO9:三人组发明家研发意在减少分心驾驶设备?
?????? 专利名称:汽车用户功能限制设备?
?????? 在美专利申请号:8994492?
?????? NO8:迪士尼研发模仿人类行为机器人?
?????? 专利名称:模仿人类行为的机器人?
?????? 在美专利申请号:9162720?
?????? 2015年是机器人丰收的一年,我们有幸目睹了机器人领域内很多令人惊艳的创新,例如:波士顿动力公司研发的动物机器人,展现出难以置信的速度与稳定性?;傻鲜磕峁净魅四孟挛颐亲ɡ昵肱判邪竦墓丶蛩厥瞧浠魅说奈榷ㄐ浴;诨魅烁粗迫死嗵囟ㄐ形姆椒?#xff0c;机器人通过接收人类某一个行为的捕捉的图像数据和接触力数据,利用统计出的人类行为的大量数据,有程序地模仿人类行为。该创新在动力学和力学性能基础上实现了机器人对人类多样性行为的模拟。?
?????? NO7:IBM研发新闻编辑室校正检测系统,影响新闻行业就业率?
?????? 专利名称:事实检测和辅助概率问答系统?
?????? 在美专利申请号:8972321?
?????? NO6:高通研发电子设备无线充电器?
?????? 专利名称:电动电子设备无线充电装置?
?????? 在美专利申请号:9130602?
?????? 基于感应电荷技术而研发的无线充电设备,也一直是今年我们网站的热点话题。我们有幸目睹了可以供电动车充电的动感器等无线充电设备。高通研发的这种为电动电子设备提供无线充电的装置空降专利申请排行榜,该装置通过发射电线,控制无线电量传输方向,实现了对电子设备进行无线充电。无线电传送装置将为室内其他所有设备例如点灯或者其他家电提供充电,无需使用电线,减少对室内行走造成的障碍。?
?????? NO5:因特尔自动驾驶技术掀起无人车热潮?
?????? 专利名称:计算机辅助无人驾驶系统?
?????? 在美专利申请号:9134731?
?????? 无人车技术自从现身在美国电子消费展后,一直吸引着全世界的目光。对无人车最感兴趣的莫过于谷歌和其他现代汽车商,至少通用、福特、丰田等传统汽车商没有展现出对无人车的狂热。作为高科技研发者,因特尔的这套计算机辅助无人驾驶系统同样吸睛。通过定位无人车位置,电脑系统利用预先设定程度辅助无人车驾驶。这项特别的发明意在为发展中国家糟糕的道路设施上调度自主车辆,降低在不安全道路上,且犯罪率频发地区驾驶的风险。?
?????? NO4:谷歌研发无人机应急系统?
?????? 专利名称:无人机医疗应急系统?
?????? 在美专利申请号:8930044?
?????? NO3:亚马逊3D打印预测产品销量?
?????? 专利名称: 3D打印预测产品销量?
?????? 在美专利申请号:9159106?
?????? 亚马逊为何在互联网零售业展现压倒性的优势,原因在于亚马逊开发了一套3D打印设备。产品在生产前,先通过产品设计概念进行3D打印,并邮寄给消费者统计预售量,避免了直接大批生产商品造成的资源浪费。该创新保证根据消费者需求生产产品。?
?????? NO2:美国数字银行推动电子钱包发展?
?????? 专利名称:移动设备交易支付装置?
?????? 在美专利申请号:8914308?
?????? 移动支付是2015年创新技术的聚焦领域。苹果推出了苹果支付后,苹果移动支付和三星移动支付的推出也成为美国美国最高法院的议题。爱丽丝公司和结算银行去年决定用软件实现金融服务。但遗憾的是,这些尝试结果却不尽人意,大多数软件,尤其涉及金融服务,只是停留在抽象的想法研发软件,研发出来后没有专利战略布局,在101专利测试中阵亡。也许正因为如此,该申请为何被通过?也更让人瞩目。?
?????? NO1:阿斯特里姆卫星太阳能转化系统?
?????? 专利名称:加强农作物光合作用太空系统?
?????? 在美专利申请号:9180980?
?????? 太阳能收集不是一个新概念,基于太阳电池板科技,人类收集太阳能已经有数十载。但是使用卫星在太空中收集太阳能,再将能量传送到地球特定区域,尤其是可以将太阳能用于几十公里的区域内的庄稼生长,听起来还是令人兴奋。和将太阳能收集后再传送到特定的反光卫星上,这是一项完全新颖的科技。此外,前者需要拥有强大推进系统的镜子的支撑。几个世纪以来,人类传奇的将地球赋予我们的资源神奇的转化到再生产系统中。这项发明正是人类难以置信的创造性能力的完美证明。
?????? (Career 译)
?????? 现在就让我们一起回顾一下2015年那些令人刻骨铭心的科技专利吧。?
?????? NO10:采用燃料电池技术,波音研发废水采集系统?
?????? 专利名称:废水收集系统?
?????? 在美专利申请号:9088018?
?????? NO9:三人组发明家研发意在减少分心驾驶设备?
?????? 专利名称:汽车用户功能限制设备?
?????? 在美专利申请号:8994492?
?????? NO8:迪士尼研发模仿人类行为机器人?
?????? 专利名称:模仿人类行为的机器人?
?????? 在美专利申请号:9162720?
?????? 2015年是机器人丰收的一年,我们有幸目睹了机器人领域内很多令人惊艳的创新,例如:波士顿动力公司研发的动物机器人,展现出难以置信的速度与稳定性?;傻鲜磕峁净魅四孟挛颐亲ɡ昵肱判邪竦墓丶蛩厥瞧浠魅说奈榷ㄐ浴;诨魅烁粗迫死嗵囟ㄐ形姆椒?#xff0c;机器人通过接收人类某一个行为的捕捉的图像数据和接触力数据,利用统计出的人类行为的大量数据,有程序地模仿人类行为。该创新在动力学和力学性能基础上实现了机器人对人类多样性行为的模拟。?
?????? NO7:IBM研发新闻编辑室校正检测系统,影响新闻行业就业率?
?????? 专利名称:事实检测和辅助概率问答系统?
?????? 在美专利申请号:8972321?
?????? NO6:高通研发电子设备无线充电器?
?????? 专利名称:电动电子设备无线充电装置?
?????? 在美专利申请号:9130602?
?????? 基于感应电荷技术而研发的无线充电设备,也一直是今年我们网站的热点话题。我们有幸目睹了可以供电动车充电的动感器等无线充电设备。高通研发的这种为电动电子设备提供无线充电的装置空降专利申请排行榜,该装置通过发射电线,控制无线电量传输方向,实现了对电子设备进行无线充电。无线电传送装置将为室内其他所有设备例如点灯或者其他家电提供充电,无需使用电线,减少对室内行走造成的障碍。?
?????? NO5:因特尔自动驾驶技术掀起无人车热潮?
?????? 专利名称:计算机辅助无人驾驶系统?
?????? 在美专利申请号:9134731?
?????? 无人车技术自从现身在美国电子消费展后,一直吸引着全世界的目光。对无人车最感兴趣的莫过于谷歌和其他现代汽车商,至少通用、福特、丰田等传统汽车商没有展现出对无人车的狂热。作为高科技研发者,因特尔的这套计算机辅助无人驾驶系统同样吸睛。通过定位无人车位置,电脑系统利用预先设定程度辅助无人车驾驶。这项特别的发明意在为发展中国家糟糕的道路设施上调度自主车辆,降低在不安全道路上,且犯罪率频发地区驾驶的风险。?
?????? NO4:谷歌研发无人机应急系统?
?????? 专利名称:无人机医疗应急系统?
?????? 在美专利申请号:8930044?
?????? NO3:亚马逊3D打印预测产品销量?
?????? 专利名称: 3D打印预测产品销量?
?????? 在美专利申请号:9159106?
?????? 亚马逊为何在互联网零售业展现压倒性的优势,原因在于亚马逊开发了一套3D打印设备。产品在生产前,先通过产品设计概念进行3D打印,并邮寄给消费者统计预售量,避免了直接大批生产商品造成的资源浪费。该创新保证根据消费者需求生产产品。?
?????? NO2:美国数字银行推动电子钱包发展?
?????? 专利名称:移动设备交易支付装置?
?????? 在美专利申请号:8914308?
?????? 移动支付是2015年创新技术的聚焦领域。苹果推出了苹果支付后,苹果移动支付和三星移动支付的推出也成为美国美国最高法院的议题。爱丽丝公司和结算银行去年决定用软件实现金融服务。但遗憾的是,这些尝试结果却不尽人意,大多数软件,尤其涉及金融服务,只是停留在抽象的想法研发软件,研发出来后没有专利战略布局,在101专利测试中阵亡。也许正因为如此,该申请为何被通过?也更让人瞩目。?
?????? NO1:阿斯特里姆卫星太阳能转化系统?
?????? 专利名称:加强农作物光合作用太空系统?
?????? 在美专利申请号:9180980?
?????? 太阳能收集不是一个新概念,基于太阳电池板科技,人类收集太阳能已经有数十载。但是使用卫星在太空中收集太阳能,再将能量传送到地球特定区域,尤其是可以将太阳能用于几十公里的区域内的庄稼生长,听起来还是令人兴奋。和将太阳能收集后再传送到特定的反光卫星上,这是一项完全新颖的科技。此外,前者需要拥有强大推进系统的镜子的支撑。几个世纪以来,人类传奇的将地球赋予我们的资源神奇的转化到再生产系统中。这项发明正是人类难以置信的创造性能力的完美证明。
?????? (Career 译)
评论