-
专利 -
商标 -
版权 -
商业秘密 -
反不正当竞争 -
植物新品种 -
地理标志 -
集成电路布图设计 -
技术合同 -
传统文化
点击展开全部
IBM最新专利允许无人机进行空中的包裹交换,据称这一专利主要是为了解决货运无人机的飞行距离以及防止包裹被偷走。
9,561,852号美国专利附图(来源:USPTO)
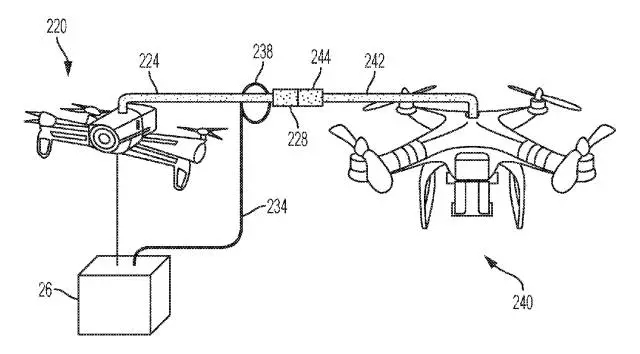
根据9,561,852号美国专利显示,IBM设想主要通过中间货运无人机来将包裹送到消费者手中,来弥补运输能力不足的短板。这种方式实质上是为无人机提供更多的里程,降低包裹在运输中途被窃的风险,通过空中的包裹接力来更好地管理运输网络。
在专利描述中,货运无人机在肚子部分安装了可以移动的导板,包裹放在其中,在底部安装带有电磁耦合装置的可伸缩产品,不过在商业端版本中顶部还有一个带对接机制的机械臂控制。
在消费者下达订单之后,仓库会直接使用无人机将包裹或者其他东西托运给消费者。与此同时,消费者需要派出自己的无人机和货运无人机在半空中进行对接,两者都会在云计算操作系统的控制下自动完成。
在交接时,货运无人机首先会降低包裹的位置,然后两架无人机就会提供顶部的机械臂进行绑定,进行磁性连接和锁定。在货运无人机有个固定包裹的环扣,一旦连接之后两台无人机就会同步倾斜,然后将无人机上的包裹转移到接收无人机上。

9,561,852号美国专利附图(来源:USPTO)
根据9,561,852号美国专利显示,IBM设想主要通过中间货运无人机来将包裹送到消费者手中,来弥补运输能力不足的短板。这种方式实质上是为无人机提供更多的里程,降低包裹在运输中途被窃的风险,通过空中的包裹接力来更好地管理运输网络。
在专利描述中,货运无人机在肚子部分安装了可以移动的导板,包裹放在其中,在底部安装带有电磁耦合装置的可伸缩产品,不过在商业端版本中顶部还有一个带对接机制的机械臂控制。
在消费者下达订单之后,仓库会直接使用无人机将包裹或者其他东西托运给消费者。与此同时,消费者需要派出自己的无人机和货运无人机在半空中进行对接,两者都会在云计算操作系统的控制下自动完成。
在交接时,货运无人机首先会降低包裹的位置,然后两架无人机就会提供顶部的机械臂进行绑定,进行磁性连接和锁定。在货运无人机有个固定包裹的环扣,一旦连接之后两台无人机就会同步倾斜,然后将无人机上的包裹转移到接收无人机上。



首页
上一篇 

评论