-
专利 -
商标 -
版权 -
商业秘密 -
反不正当竞争 -
植物新品种 -
地理标志 -
集成电路布图设计 -
技术合同 -
传统文化
律师动态
更多 >>裁判要点
一、被告使用的被诉侵权方法落入了涉案专利权利要求1的保护范围,被告制造、销售的被诉侵权产品落入了涉案专利权利要求16的?;し段?#xff0c;被告的上述行为构成对原告专利权的侵犯。?
二、在本院已查清被告向相关银行销售侵权产品的实际数量,并对原告提出的每件专利产品合理利润予以认定的前提下,可以根据该侵权产品的实际销售总数乘以每件专利产品的合理利润所得之积的方法计算原告因被侵权所受到的实际损失。?
三、在本院已确认被告向其他银行销售侵权产品但无法查清实际数量,且被告持有能证明该数量的相关证据的情况下,本院裁定被告提交相关证据,被告无正当理由拒不提供。原告主张被告持有相关证据但拒绝提供,其内容不利于被告,本院据此推定原告有关该部分侵权行为获利数额的主张成立。?
四、原告提供的律师事务所计时收费方式可以作为诉讼合理开支中律师费的计算依据。对于原告主张的律师费数额是否合理,应根据案件代理的必要性、案件难易程度、律师的实际付出等因素进行认定。
北京知识产权法院 民事判决书?
(2015)京知民初字第441号?
原告:北京握奇数据系统有限公司,住所地北京市朝阳区望京利泽中园101号启明国际大厦。
法定代表人:王幼君,总裁。
委托诉讼代理人:黄菁菁,北京市天元律师事务所律师。
委托诉讼代理人:王齐,北京市天元律师事务所律师。
被告:恒宝股份有限公司,住所地北京市西城区金融大街5号新盛大厦。
法定代表人:钱云宝,董事长。
委托诉讼代理人:陈庆彬,该公司综合管理部职员,住北京市海淀区学院路。
委托诉讼代理人:尚西国,北京市中洲律师事务所律师。
一、案件由来和审理经过
原告北京握奇数据系统有限公司(以下简称握奇公司)诉被告恒宝股份有限公司(以下简称恒宝公司)侵犯发明专利权纠纷一案,本院于2015年2月26日受理后,依法组成合议庭。被告恒宝公司在答辩期内对本案管辖权提出异议,本院于2015年4月24日裁定驳回其异议。被告恒宝公司不服该裁定,提出上诉,北京市高级人民法院于2015年6月19日终审裁定驳回其上诉,维持原裁定。
原告握奇公司在起诉之时提交了证据1-13;2015年11月6日提交了证据14-15;2016年4月11日提交了证据16-27;2016年5月30日提交了证据28-32;2016年8月18日提交了证据33。被告恒宝公司在2015年8月10日提交了证据1-3;2016年4月27日庭审后提交了证据4。本院组织双方当事人对上述证据进行了交换。
原告握奇公司于2015年3月6日向本院提出财产保全和证据保全申请,并于2015年12月18日向本院提出向中国银行、中国人民解放军61046部队、中金金融认证中心有限公司进行调查取证的申请。根据上述申请,本院于2015年4月1日依法冻结了恒宝公司的银行存款100万元,查封、扣押了被告恒宝公司制造、销售的EX-1、EX-12型智能密码钥匙产品样品,同时还作出裁定,要求被告恒宝公司提交从2012年1月至2015年1月的财务账册、财务凭证、涉及USBKey智能密码钥匙产品的交易合同。本院于2015年12月25日向中国银行等单位发出了《调查函》,要求其协助查询被告恒宝公司销售被诉侵权产品的实际数量,上述单位向本院出具了书面证明(即原告证据19、26、27),本院已将上述证明送达双方当事人。
本院于2015年10月23日、2015年10月30日、2015年11月6日、2016年4月27日、2016年6月14日对本案公开开庭进行了审理。原告握奇公司的委托代理人黄菁菁、王齐,被告恒宝公司的委托代理人陈庆彬、尚西国到庭参加了诉讼。原告握奇公司和被告恒宝公司各自申请的专家证人孟翔、张玙亦出庭就本案的专门性问题进行了陈述,本院还要求上述专家证人就有关问题进行了交叉质询。庭审后,合议庭认为本案侵权损害赔偿数额和诉讼合理支出部分中律师费赔偿数额认定的基本规则问题应提交审判委员会讨论决定,故依法向本院审判委员会进行了报告。本院审判委员会于2016年8月12日根据合议庭提交的书面陈述材料及相关证据进行了讨论和表决。审判委员会委员宿迟、陈锦川、宋鱼水、杜长辉、姜颖、张晓津、张晓霞出席了本次会议。本案现已审理终结。
二、当事人诉辩主张
原告握奇公司诉称,该公司系从事计算机软、硬件和智能仪器开发、生产的企业,应用于金融领域的智能密码钥匙产品(即USBKey)是该公司的主要产品之一。原告握奇公司对ZL200510105502.1“一种物理认证方法及一种电子装置”发明专利享有专利权,它也是本案诉讼的权利依据。被告恒宝公司主要从事IC卡读写机具、电子信息设备的开发、制造,智能密码钥匙产品也是该公司的主要产品之一。原告握奇公司发现,被告恒宝公司制造、销售的多款USBKey产品落入了原告专利权利要求16的?;し段?#xff0c;构成侵权产品,同时,被告恒宝公司使用该被诉侵权产品进行网上银行转账交易涉及的物理认证方法还落入了专利权利要求1的?;し段?#xff0c;又构成方法侵权。被告恒宝公司的上述行为已构成对原告握奇公司专利权的侵犯,且给原告握奇公司造成了巨大经济损失,故提起诉讼,请求:1、判令被告恒宝公司停止制造、销售、许诺销售上述被控侵权产品,并停止使用被控侵权方法;2、判令被告恒宝公司赔偿原告握奇公司经济损失4900万元,以及因诉讼支出的合理费用100万元。
被告恒宝公司辩称,原告握奇公司未能证明涉案专利权的?;し段А1豢厍秩ú酚肷姘缸ɡ芳际醴桨讣炔幌嗤膊坏韧?#xff1b;被告使用被诉侵权产品在网上银行转账交易过程中使用的物理认证方法也与涉案专利方法不同;现有证据不能证明被控侵权产品及方法落入了涉案专利权的?;し段?。被告恒宝公司不构成侵权,原告握奇公司提出的赔偿请求没有依据。请求驳回原告握奇公司的诉讼请求。
三、查明的案件事实
(一)原、被告基本情况
原告握奇公司成立于1994年11月18日,经营范围包括开发、生产计算机软件、硬件;开发智能仪器、仪表、网络安全设备、应用系统,计算机系统集成等。应用于金融领域的智能密码钥匙产品,即USBKey,是该公司的主要产品之一。
被告恒宝公司成立于1996年9月24日,经营范围包括制图纸、IC卡读写机具、电子信息设备及产品、办公自动化设备及产品的开发、制造,承接各类信息系统集成工程及技术服务等。USBKey产品是该公司的主要产品之一。
(二)原告主张的权利依据
原告握奇公司是“一种物理认证方法及一种电子装置”发明专利的专利权人,该专利的申请日为2005年9月23日,优先权日为2005年8月11日,授权公告日为2009年9月16日,专利号为ZL200510105502.1。2015年4月24日,国家知识产权局专利复审委员会就被告恒宝公司提出的宣告涉案专利权无效请求,作出第25806号《无效宣告请求审查决定》,维持涉案专利权全部有效。目前,该项专利权处于有效状态。
涉案专利权利要求书共包含24项权利要求,其中,权利要求1和权利要求16均为独立权利要求。诉讼中,原告握奇公司明确据以起诉被告恒宝公司侵犯其专利权的权利要求是1和16。
权利要求1记载的内容是:
“一种物理认证方法,适用于网络环境下的客户端通过电子装置执行操作命令的系统,其特征在于,设置操作命令与物理认证方式的对应关系,当进行安全运算操作时,包括以下步骤:
S1、客户端向电子装置发送进行安全运算操作的第一操作命令;
S2、系统查询所述的操作命令与物理认证方式的对应关系,获知所述第一操作命令对应的第一物理认证方式;
S3、用户向设置于电子装置上的对应于所述第一物理认证方式的物理认证执行机构发起第一物理认证操作,如果第一物理认证操作通过,表明客户端发送的第一操作命令为该用户所认可的,进入步骤S4,否则,结束流程;
S4、电子装置执行所述第一操作命令?!?
权利要求16记载的内容是:“一种电子装置,与网络环境下的客户端相连,其特征在于,包括:操作运算???#xff0c;用于执行安全运算操作命令;数据存储???#xff0c;用于保存用户数据和应用数据;操作控制对应关系???#xff0c;设置有操作命令与物理认证方式的对应关系;物理认证???#xff0c;用于接收用户输入的物理认证信息,并对其进行物理认证,如果认证结果为通过,表明客户端向本电子装置发送的进行安全运算操作的命令为该用户所认可的,并将认证结果发送给处理??榇砟??#xff1b;处理模块,用于接收客户端向本电子装置发送的进行安全运算操作的命令信息,根据所述操作命令向操作控制对应关系??榍肭蠖杂Φ奈锢砣现し绞?#xff0c;并接收物理认证??榉⑺偷娜现そ峁?#xff1b;在接收到物理认证??榉⑺偷娜现そ峁ü?#xff0c;还用于向操作运算模块发送执行相关安全运算操作的命令,并接收操作运算??榈闹葱薪峁??!?
(三)原告指控的被诉侵权方法和被诉侵权产品
原告握奇公司就此提供了以下证据:
证据4(2014)京海诚内民证字第3534号《公证书》,内容是握奇公司的委托代理人于2014年4月22日从中国银行北京东直门支行取得EX-ZN型USBKey产品1个。证据5(2015)辽证民字第905号《公证书》,内容是握奇公司的委托代理人于2015年1月15日从沈阳农商银行沈河支行取得EX-15型USBKey产品1个。证据10(2015)浙杭钱证内字第9838号公证书,内容是握奇公司的委托代理人于2015年4月3日从杭州联合银行取得EX-12型USBKey产品1个。证据12本院依据证据保全裁定书,于2015年4月1日从恒宝公司保全EX-1型、EX-12型USBKey产品各1个。
原告握奇公司指控上述产品为本案被诉侵权产品。在庭审中拆封了上述产品,并组织双方当事人进行了查验。被告恒宝公司对上述证据的真实性无异议,认可上述四种型号USBKey产品系其制造、销售。
1.对被诉侵权方法技术方案的演示
在2015年10月30日和2015年11月6日的庭审中,在征得被告恒宝公司同意后,由原告握奇公司的专家证人使用本院的一台笔记本电脑,将被诉侵权产品中的EX-ZN型、EX-15型、EX-12型USBKey分别与之相连接后进行现场转账交易演示。
在进行转账交易前,需要安装“BUS HOUND”软件,原告握奇公司的专家证人申请使用其自带的软件版本,被告恒宝公司在查验后表示同意。随后,该专家证人将其自带的“BUS HOUND 6.0.1”软件安装到上述笔记本电脑中,并启动运行,然后使用USBKey进行转账交易。
1.1 使用EX-ZN型USBKey的转账交易过程为:
将从中国银行取得的EX-ZN型USBKEY插入计算机USB端口,计算机显示增加了一个盘符。打开该盘符,点击“setup.exe”进行软件安装。安装完成后,界面弹出中国银行首页。在该页面右侧点击“个人客户网银登录”后跳转到如下页面。在该页面上,输入用户名emily_wong1005和密码进行登录。

“在页面右侧中行内转账交易”一栏输入收款人账号、汇款金额等信息,点击“下一步”。

此时,计算机界面弹出提示框,要求输入USBKey密码。

输入密码后,计算机界面弹出提示框,提示内容包括:请核对USBKEY屏幕显示的交易信息,按“C”表示“取消交易”,按“OK”表示“确认交易”。

此时USBKEY上显示相关交易信息。

点击USBKEY上的OK键后,USBKEY提示“交易成功”,计算机界面上显示交易完成信息。收款人收到短信提示。

此时切换到BUS HOUND,结束抓取,将抓取结果存储为“中行数据.txt”文件。

1.2 使用从沈阳农商银行沈河支行取得的EX-15型USBKey进行转账交易的过程为:
启动BUS HOUND软件,将USBKey插入计算机USB端口;打开新增的盘符,点击其中的“setup.exe”文件,系统开始安装;安装完成后弹出辽宁农村信用社首页。

点击“个人网上银行登录”后,打开登录页面。在该页面输入账号和密码后点击“登录”。

在登录后的页面上点击“转账汇款”,进入到转账页面。在该页面上输入收款账号、金额等信息后,点击“下一步”。


在新页面中输入验证码,点击确认。

点击确认后,计算机界面提示“请输入USBKEY口令”。输入密码后点击“确认”。

“确认”后,计算机界面出现提示信息,提示内容为“请确认USBKEY显示的交易信息,按“确认”确认交易,或者按“取消”取消交易。”

在USBKEY上点击“确认”后,USBKEY界面显示“成功”,随后计算机界面页面更新,提示“您的汇款交易受理成功”。


切换到BUSHOUND,将抓取的数据存储为“辽宁农信.txt”文件。
1.3 使用从杭州联合银行取得的EX-12型USBKey进行转账交易的过程为:
启动BUS HOUND;将(2015)浙杭钱证内字第9838号公证书证物袋中的USBKEY插入计算机USB端口;输入http://www.urcb.com/;打开杭州联合银行首页后,点击“个人网银”,进入到浙江农信个人网上银行登录界面;输入卡号和密码后点击“登录”。

在登录后的页面点击“转账汇款”,再点击“跨行转账”,然后输入付款账号、交易金额等信息,然后点击“下一步”。


页面转到“第三步:请确认转账汇款信息”,在该页面上输入交易密码后,点击“确认”。

此时计算机界面弹出提示“请输入丰收宝密码”;输入密码后点击“确定”。

点击确定后,USBKEY界面显示转账账户、姓名、金额等信息;按下USBKEY上的OK键;USBKEY屏幕显示交易成功,计算机界面随后转到交易成功界面。


切换到BUSHOUND,结束抓取,并将抓取的数据保存为“浙江农信.txt”文件。
查收收款人账户信息,确认已经收到该笔转账。


在上述演示过程结束后,被告恒宝公司认可未进行演示的其他型号被诉侵权产品的转账步骤同上。
2. 对被诉侵权产品技术方案的勘验
在庭审中,双方当事人对证据4(2014)京海诚内民证字第3534号《公证书》保全的EX-ZN型USBKey产品进行了拆解,并对产品内部结构进行拍照(如下图)。

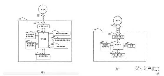
从上图可以看出,被诉侵权产品内包括有两块黑颜色的芯片,其中较大一块芯片型号为IS8U192A,另一较小的芯片型号为25q16。原告握奇公司提供的证据14华大信安公司官网网页是在登陆华大信安公司官网进行浏览后下载取得,欲证明IS8U192A型芯片由华大信安公司生产。网页中记载,UKEY IS8U系列芯片由华大信安公司自主研发;芯片功能包括:采用该公司自主的8位CPU内核,主要应用于安全USBKEY产品;主要功能包括片上数字签名,密钥协商及身份认证(支持ECC和RSA算法);高速率数据加解密(SSF33、SM1、SM4和DES算法);高速率数据压缩算法(SHA1、SHA256、SM3算法);片上随机数生成(随机数产生速率达到1Mbps);具有存储器单元,包括Flash(256KB);ROM(16KB),用于存放芯片启动、引导下载程序及API函数库;唯一芯片序列号。原告握奇公司提供的证据15华邦电子公司W25Q16DV、W25Q32BV产品介绍网页及对应翻译件是在登陆华邦电子公司官网进行浏览后下载取得,欲证明25q16型芯片由华邦电子公司生产。网页记载的内容包括:W25Q16DV、W25Q32BV两款产品由华邦电子公司生产,属于Flash存储器。原告握奇公司为证明上述两份证据的真实性和证据来源,当庭使用笔记本电脑登陆华大信安公司和华邦电子公司官网,还原取证过程,搜索出的页面与上述证据相一致。握奇公司还提供证据16《IS8U192A芯片用户使用手册》、证据17《IS8U192A芯片数据手册》。证据16记载的内容包括:IS8U192A芯片结构框图(见附图);显示“RSA”是协同处理器。在芯片结构框图中,RSA与微处理器的CPU,即HC8051等多个单元被全部集成在芯片中。证据17记载了IS8U192A芯片集成的两种类型RSA的运算项,包括加密、解密、签名、验证。被告恒宝公司对握奇公司的证据14、15、16、17的真实性当庭予以认可,同时也认可本案所涉及的其他型号被诉侵权产品内部结构及芯片均相同。

(四)关于损害赔偿方面的事实
本案中,原告握奇公司请求按照我国专利法中规定的权利人因被侵权所受到的实际损失方法来确定侵权损害赔偿数额,计算方法是以被诉侵权产品的销售数量乘以原告每件专利产品的合理利润所得之积。
1. 关于被诉侵权产品销售数量方面的证据
本院根据原告握奇公司在2015年12月18日提出的申请,向中国银行、中国人民解放军61046部队、中金金融认证中心有限公司(又称中国金融认证中心)进行了调查取证,以查清被告恒宝公司向有关银行销售USBKEY产品的数量情况。上述单位均向本院出具了书面证明,本院已将上述证明交换给双方当事人。原告握奇公司亦将上述证明作为佐证其赔偿额请求的证据。
中国银行在2016年1月25日向本院出具的《关于对贵院<调查函>的反馈》(原告握奇公司证据19)证明,根据中国银行与恒宝公司在2011年12月签订的《USBKEY第一批采购项目合同书》,中国银行实际收到被告恒宝公司USBKEY产品数量为329.97万个。中国人民解放军61046部队技术开发处在2016年1月27日出具的《关于预制恒宝股份有限公司农信银二代网银USBKEY数量的函》(原告握奇公司证据26)证明,该部队从2013年11月20日开始,分别给辽宁农村信用银行和陕西农村信用银行预制了被告恒宝公司的第二代USBKEY产品证书,其中,辽宁农村信用银行6.95万个,陕西农村信用银行82.58万个,共计89.53万个。中金金融认证中心有限公司在2016年2月1日出具的《复函》(原告握奇公司证据27)证明,该公司从2011年至2015年为中国银行、天津银行、广州农商银行、安徽农村信用银行、江西农村信用银行、内蒙古银行、贵阳银行、吉林银行、乌鲁木齐商业银行、重庆农商银行预制了恒宝公司的二代USBKEY产品证书共计408.4372万个,其中,为中国银行预制346.51万个。
另外,原告握奇公司还提供了证据8(2015)京海诚内民证字第749号公证书,证明除上述证明函中涉及的12家银行以外,被告恒宝公司在其官网上宣称还向渤海银行销售了EX-1型USBKEY产品,向浙江农村信用社(合作银行)销售了EX-12型USBKEY产品,向湖北银行销售了EX-15USBKEY产品,但是未公布销售数量。
被告恒宝公司认可证据8、证据19、证据26、证据27的真实性,但是认为上述证明中并不是所有银行都与本案有关;认可进行销售的银行是辽宁农村信用银行、浙江农村信用社(合作银行)(即杭州联合银行)、江西农村信用银行、渤海银行、中国银行、陕西农村信用银行,涉及的产品型号是EX-1型、EX-12、EX-15型、EX-ZN型等四种。
2. 关于每件专利产品利润方面的证据
原告握奇公司就此提交了以下证据:
证据21中金华审字[2016]第01-41号《专项审计报告书》,该报告是由握奇公司的关联企业,即负责制造、销售USBKEY产品的北京握奇智能科技有限公司委托北京中金华会计师事务所有限公司对其2014年单个USBKEY产品毛利率进行的专项审计。北京中金华会计师事务所有限公司经审计后,于2016年2月26日出具审计结论,确认北京握奇智能科技有限公司在2014年向辽宁省农村信用社联合社销售的单个二代USBKEY产品毛利率为30.22%;在2014年向中国建设银行销售的单个二代USBKEY产品毛利率为35.61%。被告恒宝公司对证据21的质证意见是:该证据是根据北京握奇智能科技有限公司单方提供的财务数据审计的,且该公司与原告握奇公司存在利害关系,其真实性不可信。
证据22《(中国建设银行)网上银行二代USBKEY采购框架合同》,合同内容包括:合同签订日期2013年11月7日;中国建设银行股份有限公司向北京握奇智能科技有限公司采购“网上银行二代USBKEY产品”;合同价格有效期限为2013年11月1日至2014年12月31日;采购单价每套30元。该证据证明目的是,以上述单价乘以毛利率35.61%,计算出每件专利产品利润为10.68元。
证据23《辽宁省农村信用社联合社网银系统USBKEY采购合同书》,合同内容包括:合同签订日期2013年5月;辽宁省农村信用社联合社向北京握奇智能科技有限公司采购“网银系统USBKEY产品”;合同价格有效期限为2013年11月1日至2014年12月31日;采购单价每个32.5元。该证据证明按照上述单价乘以毛利率30.22%,计算出每件专利产品利润为9.82元。
被告恒宝公司对证据22、证据23的质证意见是:认可其真实性,但每一份采购合同的报价和技术都会有差异。
证据24《飞天诚信科技股份有限公司2014年度报告摘要》,证明飞天诚信科技股份有限公司系一家上市公司(证券代码300386),该公司也制造USBKEY产品,其2014年年报显示其生产的二代USBKEY产品毛利率为43.24%。
证据25飞天诚信科技股份有限公司《首次公开发行股票并在创业板上市招股说明书》(节选),证明飞天诚信科技股份有限公司2011年USBKEY产品毛利率为40.71%,2012年USBKEY产品毛利率为36.73%,2013年USBKEY产品毛利率为38.46%;2011年二代USBKEY产品平均单价为36.85元,2012年二代USBKEY产品平均单价为34.43元,2013年二代USBKEY产品平均单价为30.26元。该证据证明将飞天诚信科技股份有限公司2011年、2012年、2013年USBKEY产品的销售单价与毛利率相乘,计算出产品利润分别为15元、12.6元、11.6元。
被告恒宝公司对证据24、证据25的质证意见是:认可其真实性,但是飞天诚信科技股份有限公司的USBKEY产品获利情况与被告恒宝公司没有可比性。
3. 原告提出的侵权损害赔偿计算方法
原告握奇公司认为,首先,需要确定被诉侵权产品的销售数量。根据中国银行出具的证明,确定被告恒宝公司向中国银行销售329.97万件侵权产品;根据中国人民解放军61046部队技术开发处出具的证明,每个证书对应一件产品,确定被告恒宝公司向辽宁农村信用银行和陕西农村信用银行销售89.53万件侵权产品;根据中金金融认证中心出具的证明数量408.4372万件,减去向中国银行销售的数量346.51万件,剩余为向天津银行、广州农商银行、安徽农村信用银行、江西农村信用银行、内蒙古银行、贵阳银行、吉林银行、乌鲁木齐商业银行、重庆农商银行销售的数量,为61.92万件。以上共12家银行,销售总量为481.42万件。其次,需要确定每件专利产品的利润。北京握奇智能科技有限公司销售给中国建设银行股份有限公司的专利产品每件利润为10.68元,销售给辽宁省农村信用社联合社的专利产品每件利润为9.82元,案外人飞天诚信科技股份有限公司2011年、2012年、2013年销售USBKEY产品的利润分别为15元、12.6元、11.6元,参考上述情况,以10元作为每件专利产品的利润,再乘以被诉侵权产品实际销售数量481.42万件,损失额为4814.2万元。在上述12家银行以外,被告恒宝公司还向渤海银行、浙江农村信用社(合作银行)、湖北银行销售了被诉侵权产品,但是其未提供实际销售数量,按合理推断被告恒宝公司至少盈利在200万元以上,现原告只主张其中的85.8万元赔偿数额,与前述4814.2万元损失额相加,共主张经济损失赔偿4900万元。
被告恒宝公司对原告握奇公司的上述计算方法提出的反驳意见是:该赔偿依据不合理;除中国银行外,不能确定被告恒宝公司供货给其他银行的产品都已销售完毕。
经本院进一步询问,握奇公司和恒宝公司均确认每个预制证书对应一件产品;预制过程是,首先由银行根据购买USBKEY产品的数量将预制证书的号段分配给USBKEY产品的制造厂家,再由制造厂家持分配好的号段到中国人民解放军61046部队和中金金融认证中心制作预制证书;在上述单位出具的证明中所涉及的USBKEY产品数量都是有号段的,有号段的产品都已实现了销售。原告握奇公司进一步明确本案被诉侵权产品是被告恒宝公司制造的第二代USBKEY产品,型号为EX-1、EX-12、EX-15、EX-ZN等四种。被告恒宝公司认可其向各家银行供货的就是上述四种型号的USBKEY产品,它们之间只是外观有所不同,但内部机制结构和工作原理都相同,都属于第二代产品,而且近几年在市场上销售的USBKEY产品也都是第二代产品。
(五)关于原告诉讼合理支出方面的事实
本案中,原告握奇公司要求被告恒宝公司赔偿其诉讼合理支出100万元,并就此提交如下证据:
证据28《诉讼(仲裁)委托代理协议》,协议内容为:握奇公司委托北京市天元律师事务所处理其与恒宝公司之间的侵权诉讼,包括调查取证、提供诉讼方案或策略、起草文书、出席庭审等;北京市天元律师事务所指派律师完成委托事项;收费标准为,律师团队按小时收费,每名律师及助理每小时收费标准从3500元到1200元不等,以此证明本案按照该标准收取了代理费。
证据29《律师费发票》,时间为2015年12月28日,金额为93.194万元,证明从签约至上述时间,原告握奇公司已向北京市天元律师事务所支付的代理费。
证据30《2015年律师费付款凭证》,时间为2016年1月11日,证明从签约至上述时间,原告握奇公司已向北京市天元律师事务所支付代理费(含其他案件)金额为130万元,其中,为本案诉讼支出的代理费是93.194万元。
证据31《2016年1月至4月的日志统计表》,证明原告握奇公司在本案中的委托代理人黄菁菁、王齐等律师团队列出的从2016年1月至4月为本案工作的时间计算表,共计58.8小时,折合费用为10.916万元。因本案尚未结束,故握奇公司尚未支付该笔费用。
证据32部分公证费发票三张,共计2300元。
证据33《握奇专利诉讼律师工作小时明细表》,内容是原告握奇公司的委托代理人黄菁菁、王齐等律师团队列出的从2014年11月1日至2015年12月18日为本案工作的时间计算表,共计409小时,折合费用为93.194万元。
证据29、证据31、证据33还共同证明握奇公司为本案应向北京市天元律师事务所支付代理费104.11万元。
被告恒宝公司对上述证据的质证意见是:律师费收取标准过高;协议书没有显示时间,对真实性均不予认可;律师费明细单没有原告的签字盖章认可,也没有《委托代理合同》,无从得知收费标准是否是双方合意的结果,另外虽然司法解释规定了权利人可以请求赔偿诉讼合理费用,但是没有规定律师费的承担主体,现原告的主张明显高于律师收费指导价标准,故不同意支付;三张公证费发票不能确认是否为本案产品公证取证,缺乏关联性。
四、裁判理由
本院认为:本案焦点问题是被告恒宝公司是否侵犯了原告握奇公司的专利权及其法律责任问题;经济损失赔偿数额如何确定问题;合理诉讼支出部分的律师费如何确定问题。
(一)被告恒宝公司是否实施了侵犯原告握奇公司专利权的行为
本院认为,原告握奇公司对涉案专利享有的专利权合法有效,受专利法保护。
我国专利法第十一条第一款规定,发明专利权被授予后,除本法另有规定的以外,任何单位或者个人未经专利权人许可,都不得实施其专利,即不得为生产经营目的制造、使用、许诺销售、销售、进口其专利产品,或者使用其专利方法以及使用、许诺销售、销售、进口依照该专利方法直接获得的产品。
《最高人民法院<关于审理侵犯专利权纠纷案件应用法律若干问题的解释>》第七条规定,人民法院判定被诉侵权技术方案是否落入专利权的?;し段?#xff0c;应当审查权利人主张的权利要求所记载的全部技术特征。被诉侵权技术方案包含与权利要求记载的全部技术特征相同或者等同的技术特征的,人民法院应当认定其落入专利权的保护范围;被诉侵权技术方案的技术特征与权利要求记载的全部技术特征相比,缺少权利要求记载的一个以上的技术特征,或者有一个以上技术特征不相同也不等同的,人民法院应当认定其没有落入专利权的?;し段?。
1. 涉案专利权?;し段У娜范?
我国专利法第五十九条第一款规定,发明专利权的?;し段б云淙ɡ蟮哪谌菸?#xff0c;说明书及附图可以用于解释权利要求的内容。专利权的保护范围应当以权利要求记载的全部技术特征所确定的范围为准,也包括与该技术特征相等同的特征所确定的范围。
1.1 对权利要求1?;し段У娜范?
本案中,原告握奇公司指控被告恒宝公司使用被诉侵权产品进行网上银行转账交易涉及的物理认证方法落入了权利要求1的?;し段?#xff0c;故应以权利要求1记载的全部技术特征确定专利权的保护范围。
权利要求1是方法独立权利要求,根据其记载的内容,其所包含的全部技术特征为:A、一种物理认证方法,适用于网络环境下的客户端通过电子装置执行操作命令的系统;B、设置操作命令与物理认证方式的对应关系;C1、当进行安全运算操作时,客户端向电子装置发送进行安全运算操作的第一操作命令;C2、系统查询所述的操作命令与物理认证方式的对应关系,获知所述第一操作命令对应的第一物理认证方式;C3、用户向设置于电子装置上的对应于所述第一物理认证方式的物理认证执行机构发起第一物理认证操作,如果第一物理认证操作通过,表明客户端发送的第一操作命令为该用户所认可的,进入下一步骤,否则,结束流程;C4、电子装置执行所述第一操作命令。
1.2 对权利要求16保护范围的确定
原告握奇公司还指控被告恒宝公司制造、销售的被诉侵权产品落入了权利要求16产品独立权利要求的?;し段?#xff0c;故应当以权利要求16记载的全部技术特征确定专利权的?;し段А?
权利要求1是方法独立权利要求,权利要求16是产品独立权利要求。根据权利要求16记载的内容,该权利要求所包含的全部技术特征为:D、一种电子装置,与网络环境下的客户端相连;E、包括有操作运算模块,用于执行安全运算操作命令;F、数据存储???#xff0c;用于保存用户数据和应用数据;G、操作控制对应关系模块,设置有操作命令与物理认证方式的对应关系;H、物理认证???#xff0c;用于接收用户输入的物理认证信息,并对其进行物理认证,如果认证结果为通过,表明客户端向本电子装置发送的进行安全运算操作的命令为该用户所认可的,并将认证结果发送给处理??榇砟??#xff1b;I、处理模块,用于接收客户端向本电子装置发送的进行安全运算操作的命令信息,根据所述操作命令向操作控制对应关系??榍肭蠖杂Φ奈锢砣现し绞?#xff0c;并接收物理认证??榉⑺偷娜现そ峁?#xff1b;在接收到物理认证??榉⑺偷娜现そ峁ü?#xff0c;还用于向操作运算??榉⑺椭葱邢喙匕踩怂悴僮鞯拿?#xff0c;并接收操作运算??榈闹葱薪峁?
鉴于权利要求16系产品权利要求,受?;さ挠Φ笔遣返牟考虿考涞呐浜瞎叵怠特征记载的是操作运算??榈墓δ?#xff0c;属于功能性特征,即结构、组分、步骤、条件或其之间的关系等,通过其在发明创造中所起的功能或者效果进行限定的技术特征。根据《最高人民法院<关于审理侵犯专利权纠纷案件应用法律若干问题的解释>》第四条的规定,对于权利要求中以功能表述的功能性技术特征,应当结合说明书和附图表述的该功能的具体实施方式及其等同的实施方式确定该技术特征的内容。
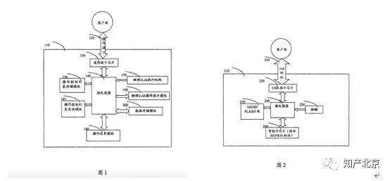
操作运算??榈墓δ苁怯糜谥葱邪踩怂悴僮髅?。在专利说明书具体实施方式部分,第12页记载,“智能卡芯片 260 完成 APDU 命令指定的安全运算操作后,将执行结果回送微处理器 240”;在第11页记载,“操作运算模块180,连接微处理器,用于完成操作控制列表指定的操作命令和控制操作控制列表的安全更新”;第11页-12页记载,“在本发明的装置中,操作运算???80可以部分或全部在微处理器140中?!贝拥?2页具体实施方式图2可以看出,智能卡芯片260与微处理器相连接。 ![]()
根据上述专利说明书具体实施方式部分的记载,执行安全运算操作??楣δ艿牟考侵悄芸ㄐ酒?#xff1b;部件配合关系为,与微处理器相连接,或者可以全部或部分在微处理器中。据此,确定E特征的内容是,“用于执行安全运算操作命令的操作运算???#xff0c;是智能卡芯片,它与微处理器相连接,也可以全部或部分在微处理器中?!?
F特征记载的是数据存储??榈墓δ?#xff0c;属于功能性特征,故应结合说明书和附图表述的该功能的具体实施方式及其等同的实施方式确定该技术特征的内容。
数据存储??榈墓δ苁怯糜诖娲⒂没莺陀τ檬?。在专利说明书的具体实施方式部分,第11页记载,“数据存储模块200,连接微处理器,可以是EPROM,EEPROM或非易失性存储器(NAND FLASH)、硬盘或移动硬盘这样的存储器当中的任何合适的一种,但并不限于这些存储器,用于存储用户数据和应用数据。”
据此,执行数据存储??楣δ艿牟考?#xff0c;可以是EPROM,EEPROM或非易失性存储器(NAND FLASH)、硬盘或移动硬盘这样的存储器当中的任何合适的一种,但并不限于这些存储器;部件配合关系为,与微处理器相连接。据此,确定专利F特征的内容是,“用于保存用户数据和应用数据的数据存储模块,可以是EPROM,EEPROM或非易失性存储器(NAND FLASH)、硬盘或移动硬盘这样的存储器当中的任何合适的一种,但并不限于这些存储器,并与微处理器相连。”

G特征记载的是操作控制对应关系??榈墓δ?#xff0c;属于功能性特征,故应结合说明书和附图表述的该功能的具体实施方式及其等同的实施方式确定该技术特征的内容。在专利说明书中并没有记载与操作控制对应关系??槎杂Φ挠布?#xff0c;但是,权利要求18记载,操作控制对应关系??榘ú僮骺刂屏斜泶娲⒛?楹筒僮骺刂屏斜聿檠??。通过阅读说明书发现,在具体实施方式部分分别记载有与操作控制列表存储??楹筒僮骺刂屏斜聿檠?槎杂Φ牟考?#xff0c;因此,可以根据这两个模块对应的部件确定G特征的内容。
操作控制对应关系模块的功能是设置有操作命令与物理认证方式的对应关系。它包括操作控制列表存储??楹筒僮骺刂屏斜聿檠??。
在专利说明书的具体实施方式部分,第11页记载,“3、操作控制列表存储???50,连接微处理器,可以是固件存储器,如ROM、EPROM、EEPROM或非易失性存储器(NAND FLASH)这样的存储器当中的任何合适的一种,但并不限于这些存储器,也可以是智能卡芯片,用于存储进行安全认证操作的操作控制列表”;“4、操作控制列表查询???60,连接微处理器,用于在操作控制列表中查找客户端通过操作命令通信接口下发的操作命令,并判断此操作命令是否需要进行物理认证操作”;“7、在本发明装置中,操作控制列表存储???50,操作控制列表查询???60可以部分或全部在微处理器中?!痹诘?2页记载,“该微处理器240 从智能卡芯片 260 中读取操作控制列表,并在操作控制列表中按 APDU 命令格式或 SCSI 规定的读写操作代码,通过逐条对比的方式查找此命令,判断此命令是否需要物理认证操作……”。
[操作控制列表存储模块] 根据专利说明书具体实施方式部分第11页对操作控制列表存储??榈募窃?#xff0c;操作控制列表存储模块的功能是,存储进行安全认证操作的操作控制列表;对应的部件可以是固件存储器,如ROM、EPROM,EEPROM或非易失性存储器(NAND FLASH)这样的存储器当中的任何合适的一种,但并不限于这些存储器,也可以是智能卡芯片;部件配合关系是,与微处理器连接,也可以部分或全部在微处理器中。
[操作控制列表查询??閉在专利说明书具体实施方式部分,第11页记载,“操作控制列表查询模块,用于在操作控制列表中查找客户端通过操作命令通信接口下发的操作命令,并判断此操作命令是否需要进行物理认证操作”。根据上述内容,操作控制列表查询模块的功能是,在操作控制列表中查找客户端通过操作命令通信接口下发的操作命令,并判断此操作命令是否需要进行物理认证操作。根据专利说明书具体实施方式部分记载的“该微处理器 240 从智能卡芯片 260 中读取操作控制列表,并在操作控制列表中按 APDU 命令格式或 SCSI 规定的读写操作代码,通过逐条对比的方式查找此命令,判断此命令是否需要物理认证操作……”等内容分析得出,是微处理器在执行操作控制列表查询的功能。在微处理器中,包含多个功能???#xff0c;根据各部件发挥的作用,执行上述功能的部件是CPU,该部件配合关系是在微处理器中。
因此,本院确定专利G特征的内容是,“操作控制对应关系模块包括操作控制列表存储??楹筒僮骺刂屏斜聿檠??#xff0c;其中,用于存储进行安全认证操作的操作控制列表的操作控制列表存储???#xff0c;可以是固件存储器,如ROM、EPROM,EEPROM或非易失性存储器(NAND FLASH)这样的存储器当中的任何合适的一种,但并不限于这些存储器,也可以是智能卡芯片,它与微处理器连接,也可以部分或全部在微处理器中;用于在操作控制列表中查找客户端通过操作命令通信接口下发的操作命令,并判断此操作命令是否需要进行物理认证操作的操作控制列表查询???#xff0c;是CPU,在微处理器中?!?
H特征记载的是物理认证??榈墓δ?#xff0c;属于功能性特征,应结合说明书和附图表述的该功能的具体实施方式及其等同的实施方式确定该技术特征的内容。在专利说明书中并没有记载与物理认证??槎杂Φ牟考?#xff0c;但是,根据权利要求17的记载,物理认证模块包括物理认证执行机构和认证比较???。通过阅读说明书发现,在具体实施方式部分分别记载有与物理认证执行机构和认证比较模块相对应的部件,可以根据这两个??槎杂Φ牟考范℉特征的内容。
物理认证??榈墓δ苁怯糜诮邮沼没淙氲奈锢砣现ば畔?#xff0c;并对其进行物理认证,如果认证结果为通过,表明客户端向本电子装置发送的进行安全运算操作的命令为该用户所认可的,并将认证结果发送给处理???。它包括物理认证执行机构和认证比较???。
在专利说明书的具体实施方式部分,第11页记载,“物理认证执行机构170,包括指纹采集器、按键装置、拨动开关装置等,与微处理器相连,用于用户通过物理方式输入安全认证的各种操作”。第10页-11页记载,“微处理器140,……在操作特征识别认证模式下,将用户输入的操作特征识别信息与操作控制列表存储??橹泄娑ǖ挠行耘卸显蚪卸员?#xff0c;得出认证结果。”
在证据16《IS8U192A芯片用户使用手册》第19页的IS8U192A芯片结构框图中,包含有GPIO单元,它是按键装置接口,并被集成在微处理器中。
[物理认证执行机构]在说明书具体实施方式部分记载,“物理认证执行机构,包括指纹采集器、按键装置、拨动开关装置等,与微处理器相连,用于用户通过物理方式输入安全认证的各种操作?!备萆鲜瞿谌莘治?#xff0c;物理认证执行机构的功能是,用户通过物理方式输入安全认证的各种操作;该功能对应的部件是,包括指纹采集器、按键装置、拨动开关装置等;部件配合关系是,与微处理器相连。
[认证比较模块]专利说明书具体实施方式部分,第10页-11页记载的“微处理器140,……在操作特征识别认证模式下,将用户输入的操作特征识别信息与操作控制列表存储??橹泄娑ǖ挠行耘卸显蚪卸员?#xff0c;得出认证结果”等内容,描述的是在物理识别认证模式下进行的物理认证对比过程,根据上述内容分析,认证比较模块的功能是,在操作特征识别认证模式下,将用户输入的操作特征识别信息与操作控制列表存储??橹泄娑ǖ挠行耘卸显蚪卸员?#xff0c;得出认证结果;执行上述功能的部件是微处理器中的中央处理装置,即CPU;部件配合关系是,位于微处理器中。
故,本院确定专利H特征的内容是,“物理认证模块包括物理认证执行机构和认证比较???#xff0c;其中,用于用户通过物理方式输入安全认证的各种操作的物理认证执行机构,包括指纹采集器、按键装置、拨动开关装置等,与微处理器相连;用于在操作特征识别认证模式下,将用户输入的操作特征识别信息与操作控制列表存储??橹泄娑ǖ挠行耘卸显蚪卸员?#xff0c;得出认证结果的认证比较???#xff0c;是微处理器中的CPU,位于微处理器中?!?
I特征记载的是处理??榈墓δ?#xff0c;属于功能性特征,故应结合说明书和附图表述的该功能的具体实施方式及其等同的实施方式确定该技术特征的内容。
处理??榈墓δ苁怯糜诮邮湛突Ф讼虮镜缱幼爸梅⑺偷慕邪踩怂悴僮鞯拿钚畔?#xff0c;根据所述操作命令向操作控制对应关系??榍肭蠖杂Φ奈锢砣现し绞?#xff0c;并接收物理认证??榉⑺偷娜现そ峁?#xff1b;在接收到物理认证??榉⑺偷娜现そ峁ü?#xff0c;还用于向操作运算??榉⑺椭葱邢喙匕踩怂悴僮鞯拿?#xff0c;并接收操作运算??榈闹葱薪峁?。
在专利说明书的具体实施方式部分,第10页记载,“微处理器140,用于接收客户端发送的操作命令信息,并将处理结果返回客户端”;第12页记载,“该微处理器240先按USB通讯协议对收到的数据包进行数据完整性校验,并得到客户端下发的操作命令”,“如果此命令需要物理认证操作,该微处理器240同时从操作控制列表中获得指定的物理认证操作及其属性信息”,“该微处理器240收到客户端的确认信息后,根据操作控制列表的描述,检查使用者是否在500毫秒内完成了一次有效地的按键260操作”;第12页-13页记载,“如果在有效时间内按键260操作有效,则该微处理器240将此APDU命令发送给智能卡芯片260,智能卡芯片260完成APDU命令指定的安全运算操作后,将执行结果回送微处理器240”。
根据专利说明书中记载的以下具体实施方式,即“微处理器140,用于接收客户端发送的操作命令信息……该微处理器240先按USB通讯协议对收到的数据包进行数据完整性校验,并得到客户端下发的操作命令”、“如果此命令需要物理认证操作,该微处理器240同时从操作控制列表中获得指定的物理认证操作及其属性信息”、“该微处理器240收到客户端的确认信息后,根据操作控制列表的描述,检查使用者是否在500毫秒内完成了一次有效地的按键260操作”、“如果在有效时间内按键260操作有效,则该微处理器240将此APDU命令发送给智能卡芯片260,智能卡芯片260完成APDU命令指定的安全运算操作后,将执行结果回送微处理器240”,分别与权利要求16中记载的“处理???#xff0c;用于接收客户端向本电子装置发送的进行安全运算操作的命令信息”、“根据所述操作命令向操作控制对应关系??榍肭蠖杂Φ奈锢砣现し绞健?、“并接收物理认证??榉⑺偷娜现そ峁?、“在接收到物理认证??榉⑺偷娜现そ峁ü?#xff0c;还用于向操作运算模块发送执行相关安全运算操作的命令,并接收操作运算模块的执行结果”进行功能比较,二者相互对应,故确认以上说明书部分记载的内容是对处理??楣δ艿木咛迨凳┓绞健O远准?#xff0c;执行该功能的是微处理器,而在微处理器中,包含多个功能??椤8莞鞑考⒒拥淖饔?#xff0c;执行上述功能的具体部件是CPU,它在微处理器中。
本院根据专利说明书具体实施方式,确定专利I特征的内容是,“用于接收客户端向本电子装置发送的进行安全运算操作的命令信息,根据所述操作命令向操作控制对应关系??榍肭蠖杂Φ奈锢砣现し绞?#xff0c;并接收物理认证??榉⑺偷娜现そ峁?#xff1b;在接收到物理认证??榉⑺偷娜现そ峁ü?#xff0c;还用于向操作运算模块发送执行相关安全运算操作的命令,并接收操作运算??榈闹葱薪峁拇砟??#xff0c;是微处理器的CPU,位于微处理器中?!?br />
2. 被诉侵权方法使用的技术方案是否落入权利要求1的保护范围
2.1 被诉侵权技术方案是否包含专利A特征
原告握奇公司认为,被诉侵权技术方案中包含与专利A特征相对应的特征,体现为“在互联网环境下,进行计算机终端的网上银行操作,通过USBKEY进行转账交易,该交易的核心安全运算操作是发送交易数据、对交易数据进行核心运算、校验密码以及数字签名操作?!北痉⒚鞯哪康氖侨煤戏ㄊ褂谜呖梢酝ü锢淼姆绞蕉园踩现ぷ爸玫牟僮鞲枞现?#xff0c;从而实现对交易的认证或对数据读写操作的认证。根据说明书的描述,客户端是指安装在用户计算机上的应用程序及其相关的软、硬件运行环境,电子装置包括USBKEY,操作命令包括安全运算命令和数据读写命令两类。按照权利要求13理解,其可以为一条命令或一组命令组合。根据以上所述,判断命令或一组命令是否为操作命令的方法为,命令的目的是不是进行安全运算或数据读写。从对被控侵权产品进行的转账交易操作过程可以看出,用户需要按键对转账交易进行确认后,交易才能进行,因此,被诉侵权产品使用了一种物理认证方法,即使用按键方式对转账交易进行认证的方法。恒宝公司自称是一种数字签名方法,但数字签名是一种运算方法,本案并不涉及。从操作过程可知,被控侵权产品的操作过程需要在互联网环境下进行。以中国银行的USBKEY为例,在插入USBKEY后会安装中国银行网上银行客户端。从抓包数据来看,客户端会向USBKEY发送操作命令;USBKEY则执行相应的操作命令。从数据抓包流程步骤可以看出,步骤1、3、5分别是不同的操作命令,各自由多条命令组成。恒宝公司自称的“适用于网络环境下的客户端通过USBKey执行数字签名”与专利A特征相同。
被告恒宝公司认为,被诉侵权产品适用于网络环境下的客户端通过USBKey执行数字签名,是一种数字签名方法,而不是物理认证方法。
本院认为,鉴于被诉侵权技术方案也是在网络环境下由计算机终端通过电子装置(包括USBKEY)执行操作命令,故其存在与专利A特征相对应的特征,即a特征,体现为“一种数字签名方法,适用于网络环境下的客户端通过USBKEY执行数字签名?!苯玜特征与A特征相比较,根据权利要求6记载的内容,被告恒宝公司主张的数字签名本身就是一种操作命令,故两特征中客户端通过电子装置执行的对象都是操作命令。对于恒宝公司强调的a特征中的“数字签名方法”与A特征“物理认证方法”之间的区别,首先,涉案专利与被诉侵权产品都应用于计算机和通信安全领域中的交易安全认证;其次,根据权利要求7、9的记载,物理认证可以是操作方式的认证,包括按键方式。从对被控侵权产品转账交易的演示过程看,用户在交易时采取的认证方式是按键,因此,a特征中的认证方式属于物理认证,故本院认定a特征与A特征相同。
2.2 被诉侵权技术方案是否包含专利B特征
原告握奇公司认为,根据说明书的记载,操作命令与物理认证方式的对应关系可以是一种列表关系,其中,操作命令可以是数据加密、数字签名等,物理认证方式可以是按键操作、指纹等。从说明书中可知一种具体应用方法,“当客户端要求物理认证装置完成数据加密运算时,物理认证装置只有在 500 毫秒内收到合法使用者的 1 次有效按键操作后,才能执行数据加密运算操作,并将运算结果返回客户端。”从转账交易过程可知,要进行转账交易,客户端需要USBKEY进行数字签名,USBKEY只有在60秒内按“OK”键后,才能进行数字签名,并将结果返回客户端,因此,在被控侵权产品中至少存在数字签名与按“OK”键的对应关系。恒宝公司称其没有在被诉侵权产品中设置操作命令与物理认证方式的对应关系,也不存在对应关系列表,与实际情况不符,其认可收到某条指令后直接执行其函数内容,而不会去某个列表中查询其对应的物理动作,正因为列表是一个虚拟的表格,是通过函数实现的,所以执行该函数的过程就是查询对应关系的过程。被诉侵权技术方案中包含与专利B特征对应的特征,体现为“在执行数字签名操作时,需要按OK键后才能进行?!本榷?#xff0c;被诉侵权产品在执行数字签名操作时,均需按OK键后才能继续进行,如果不进行对应关系的判断,不可能实现按键拦截功能,说明系统预先设置了数字签名操作命令与按键的对应关系,故被诉侵权产品包含B特征。
被告恒宝公司认为,没有在被诉侵权技术方案中设置操作命令与物理认证方式的对应关系,也不存在对应关系列表,而是在收到某条指令后直接执行其函数内容,不会在某个列表中查询其对应的物理动作,故被诉侵权技术方案中不包含专利B特征。
本院认为,在专利说明书第13页画出了操作控制列表结构,(见以下附图)。

首先,对于专利B特征“设置操作命令和物理认证方式的对应关系”的理解,可以参照从属权利要求进行解释。通过阅读权利要求2、3、4后可以看出,B特征限定的操作命令与物理认证方式的对应关系可以理解为操作控制列表行中的操作命令以及列中的认证方式相互间的一一对应。从说明书第13页操作控制列表结构图可以看出,数据加密、数据解密、数字签名等操作命令都一一对应着按键、拨动开关、指纹对比等相应的物理认证操作。从本领域技术人员角度看,并不存在一个真实的操作控制列表,它是一个虚拟概念,目的在于以行、列的表格形式更加清楚地说明操作命令与物理认证方式的对应关系,每一个操作命令都已被提前预设好对应某一个物理认证操作的识别方式,以达到安全认证的目的。
其次,从对被诉侵权产品转账交易的演示过程看,客户端向被诉侵权产品发出了进行数字签名的操作命令,用户在认可交易安全后,在60秒内通过按“OK”键将数字签名结果返回客户端,“OK”键是识别数字签名命令的物理认证方式,按下“OK”键表明对操作命令已经完成物理认证,因此,在被控侵权技术方案中至少存在已提前设置完成的数字签名与“OK”键之间的一一对应关系。对于恒宝公司辩称在被诉侵权技术方案中不存在对应关系列表,直接执行函数内容的理由,本院认为,函数本身是把一段代码或者一段程序组合到一起,形成的一个功能单元,执行函数就是运行一段程序。函数和按键之间的对应关系是程序员在编写代码时就已提前设置完成的一个对应关系,其可以通过前述函数的方式来实现,系统通过执行这段函数获知了该操作命令对应的按键方式。而权利要求中的对应关系列表系虚拟概念,其本身指代的对应关系其实就是通过函数来实现的,执行函数的过程就是查询对应关系的过程,被诉侵权技术方案采用的即是该逻辑,故被诉侵权技术方案中具备“设置操作命令和物理认证方式的对应关系”的特征,即b特征。经比对,b特征与B特征相同。
2.3 被诉侵权技术方案是否包含专利C1特征
原告握奇公司认为,C1特征中的安全运算是以信息安全为目的进行的数学计算,包括数据加密、数据解密、数字签名等,而安全运算操作是一种需要进行安全运算的操作,可以是前述的数字签名操作。第一操作命令是一种操作命令,此处“第一”是撰写专利文件的一种表述方式,代表操作命令中的一种。根据权利要求的解释,其目的是进行安全运算操作,有其对应的物理认证方式。根据权利要求14的解释,第一操作命令与物理认证方式的对应关系为逻辑关系,存在一对一、一对多、多对多的情况。因此,第一操作命令是指一种需要进行安全运算操作的操作命令,其对应一条或者多条物理认证方式。在上述演示过程中,从所附数据抓包流程步骤可以看出,实现了数字签名功能的第一操作命令。在该步骤中第一条指令发出时,即表明客户端向电子装置发送了第一操作命令。被诉侵权技术方案体现为“当进行交易流程时,客户端向USBKEY发送对交易数据确认的请求”,它与C特征相比,是在确认了USBKEY密码后,为获取数字签名的结果,客户端向电子装置发送了包含“43000580c2001100”的一串命令组合。根据恒宝公司的描述,该命令组合的作用是,客户端向电子装置发送第一条前述命令报文后,电子装置启动按键检测并开始计时,返回等待时间;客户端继续发送同一命令报文,如果用户还未按“OK”键,则继续返回等待时间;如果用户按“OK”键,USBKEY再次接收到前述命令报文时则执行数字签名运算,并返回签名结果,可见该命令组合属于发送需要进行物理认证操作的命令,即第一操作命令,故被诉侵权技术方案包含专利C1特征。
被告恒宝公司则认为,在被诉侵权技术方案中与C1特征相对应的特征体现为“当进行交易流程时,客户端向USBKEY发送交易数据确认的请求”,而不是发送进行安全运算操作的第一操作命令,故与C1特征不等同。
本院认为,首先,关于什么是安全运算操作的问题,结合本发明技术背景和需要解决的技术问题看,是要在计算机和通信安全领域实现安全运算操作,即进行安全运算的操作。安全运算命令属于操作命令,执行安全运算命令的操作则属于安全运算操作。在权利要求6中列举的安全运算命令中包括了数字签名,单从数字签名看,涉及执行数字签名的操作是安全运算操作。其次,关于什么是第一操作命令的问题,在权利要求书和说明书中对于第一操作命令没有进一步解释,但是可以肯定它是一种操作命令。对于“第一”的表述,系撰写专利文件的一种表述方式,目的在于避免与权利要求书中的“操作命令”相区分,例如,在表述所列举的其中一种操作命令方式时,就可以使用“第一操作命令”。第三,从上述汇款交易的演示过程看,在客户端界面输入收款人账号、汇款金额等信息后,计算机界面弹出提示框,“提示:现在需要校验您的USBKEY密码”。校验完密码后,计算机界面又弹出提示框,提示内容包括,“请核对USBKEY屏幕显示的交易信息,按C表示取消交易,按OK表示确认交易”,由此看出,要求校验USBKEY密码的目的在于使汇款人对USBKEY屏幕显示的交易信息是否同意给予确认,而计算机界面弹出提示框,并要求输入USBKey密码的请求,证明数字签名的安全运算操作命令已经下发,由于数字签名属于操作命令的一种,因此它也是第一操作命令,故在被诉侵权技术方案中包含“客户端向电子装置发送进行安全运算操作的第一操作命令”,即c1特征,它与C1特征相同。
2.4 被诉侵权技术方案是否包含专利C2特征
原告握奇公司指控被诉侵权技术方案中包含与专利C2特征相对应的特征,体现为“系统查询所述的操作命令与物理认证方式的对应关系,获知所述第一操作命令对应的第一物理认证方式”。将双方技术特征进行比对,在前文已经确认操作命令与物理认证方式之间存在对应关系的前提下,被诉侵权产品在接收到第一条“



首页
上一篇 

评论