-
专利 -
商标 -
版权 -
商业秘密 -
反不正当竞争 -
植物新品种 -
地理标志 -
集成电路布图设计 -
技术合同 -
传统文化
点击展开全部
律师动态
更多 >>知产速递
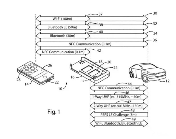
更多 >>最近,福特获得了美国专利号为9,842,444的智能手机外壳专利,该外壳将成为汽车钥匙,集成了NFC通信功能以及UHF发射器和接收器的附加优点。此前,该专利由福特于2012年12月12日提交。


有分析指出,由于特斯拉等制造商的专用移动应用程序出现,这个专利似乎既巧妙又过时,对于新车吸引力不大。但是对于现有车辆的车主来说,以小巧的手机外壳取代稍微笨拙的钥匙链来说将是非常有吸引力的。目前还不清楚福特这款专利是否最终变成商业化产品,如果最终成为产品,福特该产品可能仅限于福特品牌汽车使用。




首页
上一篇 

评论