-
专利 -
商标 -
版权 -
商业秘密 -
反不正当竞争 -
植物新品种 -
地理标志 -
集成电路布图设计 -
技术合同 -
传统文化
点击展开全部
律师动态
更多 >>据外媒最新消息,苹果团队申请的一项专利被曝光,显示其可能正在开发类似谷歌眼镜的智能眼镜显示设备,但其光学系统设计能够让设备整体体积小巧,佩戴舒适。结合苹果今年大力推广ARKit的增强现实的举措,苹果很可能推出智能眼镜的增强现实显示设备。

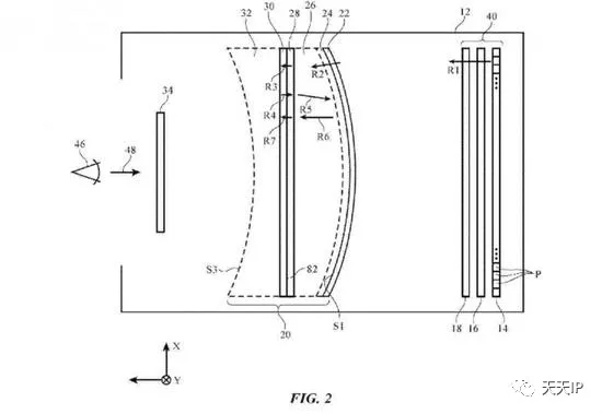
日前美国专利商标局公开了苹果的一个专利申请文件,内容是智能眼镜或是头戴设备。专利描述中,苹果希望设计一个更加轻巧、更加舒适的智能眼镜。苹果专利中的头戴设备使用一种所谓“折射反射系统”的技术,而不是目前头盔设备中的光学放大技术,这种方式可以降低光学设备的复杂度和重量。
苹果公司的智能眼镜开发到了何种程度,何时推向市场都是未知数,当然这一专利设备可能并不会真正投放市场。



首页
上一篇 

评论