-
专利 -
商标 -
版权 -
商业秘密 -
反不正当竞争 -
植物新品种 -
地理标志 -
集成电路布图设计 -
技术合同 -
传统文化
律师动态
更多 >>知产速递
更多 >>近日,任天堂(Nintendo)公布了一款纸盒配件LABO,引爆网络,带动任天堂股价上涨3%。这一配件的主机Nintendo Switch(下称NS)在发布不到一年的时间内,就席卷全球游戏机市场。截止到 2017 年 12 月 31 日,NS 在九个月里累计销量达到了 1486 万台。
新的篇章已然展开,旧的一页却未翻过。任天堂上一代游戏机Wii被判专利侵权,赔偿数额高达1000万美元。今天笔者就带大家来看一看,为什么做体感游戏机的公司那么多,倒霉的就任天堂一个。
说起体感游戏机,相信很多人并不会觉得陌生。任天堂2006年首次将体感操作引入电视游戏主机,推出了被视为电子游戏革命的Wii,获得了巨大成功,该系列累计销售量超过一亿台。随后,微软和索尼跟进推出了自家的体感游戏设备——Kinect和PS Move。同样获得了不错的市场反响。这三款设备针对同一需求,看似相近,背后的技术差异却不容忽视。
1任天堂Wii:被判侵犯专利权

iLife是美国的一家科技公司,他们早在2013年就对任天堂(美国)提起了专利侵权诉讼。他们认为任天堂公司生产的Wii系列游戏机(包括体感游戏手柄及其主机接收器)侵犯了iLife持有的体感技术专利。原告最初诉请的赔偿金额达1.44亿美元之巨(任天堂公司诉前销售的3600万台Wii游戏机,每台支付4美元专利使用费),并要求判令任天堂停止使用相关技术。2017年8月,美国德州地区法院判决侵权成立,判赔金额高达1000万美元。任天堂不服判决,提起上诉。期间,任天堂向USPTO提出专利无效申请,被全部驳回。就USPTO的这一决定,任天堂提起了上诉。2017年12月27日,美国联邦巡回上诉法院作出判决:驳回上诉,维持原判。任天堂是否会采取进一步的法律行动有待观察。
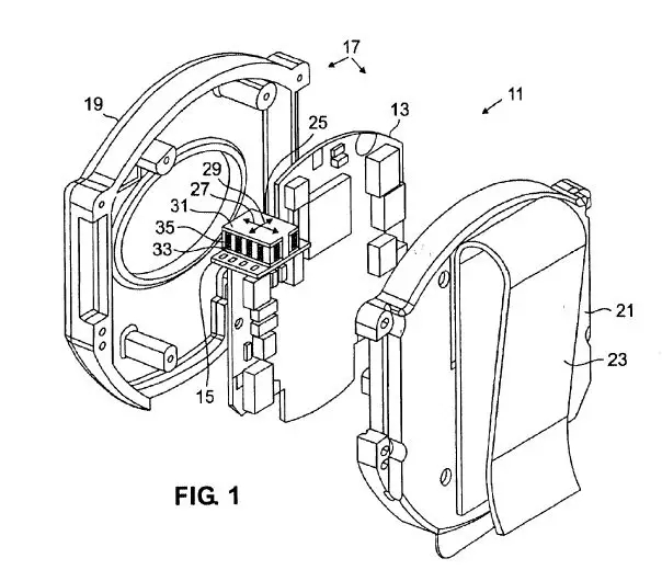
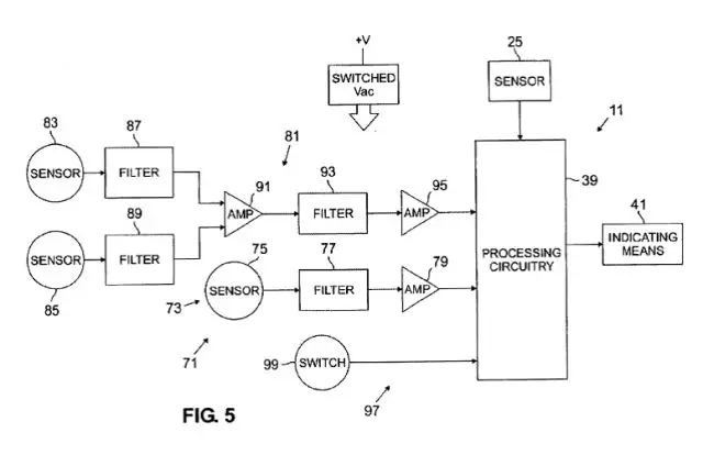
涉案的是一个名为“一个运用于评估身体运动的通信设备的系统及方法”的专利。这个系统包括一个传感器、一个处理器,和一个可以传送状态及容差标记给监控器的信号设备。iLife公司将这一技术用于一种防止老人跌倒和小孩猝死的监控设备之中。图一(FIG. 1)是专利文件中给出的一个实施例。图五(FIG. 5)是可能运用该专利的替代感应设备的原理框图。


Wii的工作原理主要是,在手柄上放置一个重力传感器,用来侦测手部三轴向的加速度,以及一红外线传感器,用来感应在电视屏幕前方的红外线发射器讯号,主要可用来侦测手部在垂直及水平方向的位移。

委员会和法院在审查中都认为,Wii的技术是落入涉案专利范围的。本案的关键在于,任天堂的现有技术抗辩能否成立。
任天堂提交了一份材料:1998年11月10日的日本专利出版物H10-295649(Yasushi),其中涉及的技术与其所挑战的权利请求项1—3、9-12、18-20内容重合。文章出版在前,专利申请在后。因此,他们认为这些权利请求项因不符合新颖性要件而无效。委员会从两个方面进行判定:
1. 原始申请的书面说明书能否支持被挑战的权利请求项?
被挑战的权利请求项涉及到一个在原始申请中公开的系统。对这种声称可以用于发明中的“通信设备”,原始申请还提供了一些实施例。这个系统包括一个传感器、一个处理器,和一个可以传送状态及容差标记给监控器的信号设备。并且指明这种信号设备能够承载任何形式的数值,“在本实施例中,(设备)平台是一个射频发射器”。任天堂认为原始申请中的“通信设备”仅限于射频发射器的观点被委员会否决。
2.iLife公司在Yasushi出版之前(1998年11月前)是否有效实施了涉案技术?
委员会采纳了iLife公司提交的发明人和两位证人的声明,证明发明人在1998年八月制造了一个“跌倒测试设备”的工作模型,并进行了人体测试。他们也发现了发明者关于改进模型的正式工程图,这些模型在1998年9月测试成功。委员会进一步采纳了发明人同时提交的其他笔记和记录。为了确定被挑战的权利请求项被有效实施,委员会把发明人提交的证据和请求项中的元素对应起来,证明所展示的每一个元素在发明人制造的模型中都有所体现。因此委员会认为,被挑战的权利请求项早在1998年八月就被有效实施了,Yasushi不属于它们中任何一个的现有技术。
因此,委员会最终判定所有被挑战的权利请求项都是有效的。
上诉法院对委员会的决定进行了审查,主要讨论了“书面说明书”和“有效实施”这两个要点。
对于书面说明书的问题,法院针对任天堂提出的两点主张做出说明。
1.任天堂提出,根据PowerOasis案的观点,委员会应该审查部分延续申请中新公开的内容,并判定该内容是否与特定的争议请求项类似。法院认为,这是对该案观点的误读。这个问题的关键在于判断所描述的客体是否体现在原始申请中,而非判断它们是否出现在任何补充公开中。
2.任天堂认为,委员会错误地解释了“通信设备”这一概念,误将射频发射器包含在原始申请公开的“设备”之中。法院认为这并不是决定性因素。而且委员会要解决的争议是,原始申请是否公开了有效的通信设备类型以支持争议请求项的内容。被挑战的请求项2、3是请求项1的附属请求项,因此在所示请求项1中的“通信设备”的范围,除了基本的通信设备,还必须将移动电话以及个人电脑涵盖在内。因此,委员会不能也没有得出这样的结论:单凭信号设备以及它的射频发射器,就能够证明其覆盖了被挑战的请求项。并且,对能够承载任何形式数字内容的信号设备的公开,以及对与电脑和移动电话一起的发明的使用的公开,足以说服一个理性的人,让他相信iLife公司拥有所有所示请求项1中的通信设备,包括电话和个人电脑。
对于有效实施的问题,法院作出了如下说明。有先例指出,“要证明存在有效实施,申请人必须:1.制造出一个具体物,或者实施一个方法,它们能够满足请求项的所有限制;2.确定发明能按照所设计的目的运行。”也就是说,实施一个特定的权利请求项,申请人必须在请求项范围内制造出一个可以运行的具体物。按照这个标准,法院重新审查了委员会关于有效实施的相关决定。认为:1.对请求项2、11的有效实施认定,有有效证据支持;2.对请求项3、12的有效实施认定,没有有效证据支持;3.对请求项19、20的有效实施认定,无有效证据支持,且实施例未完全符合请求项的限定要求。
最终部分推翻了委员会的维持决定,但仍然认定任天堂构成侵权。
2索尼、微软:摄像头组件+智能运算

索尼推出的体感外挂设备是PS 3(PlayStation)配套的PS? MOVE动态控制器(下称MOVE),首发于2010年九月。MOVE不仅可以进行动作重现,也能感应空间深度,用户体验更进一步。


MOVE手柄内置三轴陀螺仪、三轴加速等传统感应装置,但是它的核心却是PSEYE(摄像头)的空间定位功能——通过识别手柄上端的发光球体进行三维定位??梢运凳荅YETOY的技术延续。这款设备一直没有被SONY淘汰,MOVE还是其2015年9月发布的PS VR的外挂设备。
由于是光源追踪,MOVE的操作环境需要屏蔽其他光源,也就是玩家要在一个黑暗的空间游戏。
画面是这样的,恩……

同样是在2010年,微软也推出了自家的体感设备——Kinect,作为XBOX 360的补充。它是一种3D体感摄影机,同时导入了即时动态捕捉、影像辨识、麦克风输入、语音辨识、社群互动等功能。这款设备完全解放了玩家的双手,不需要任何辅助设备帮助定位,直接通过摄像头捕捉人体动作。与前两种技术相比,微软的技术显然更加先进。它通过红外线投射,对环境中的不同对象进行标注、运算,从而实现动作识别,不受限于特定的输入源。


Kinect推出后,科技界的评价远远高于市场,笔者认为这恰恰凸显了Kinect技术革新产品的地位。Kinect是微软在人工智能研究领域的一个副产品,从技术上讲,它是一个过渡产品。但是其所运用的机器学习原理,有着广阔,甚至可以说是确定的光明前景。特别是在AR/VR领域,如果实现摄像三维定位,所能衍生出的应用将有无限可能。
?
讲到这里,相信大家已经看出,同样都是体感设备,上面的三家公司选择的却是完全不同的路径。在现在甚至未来的体感技术竞争中,被侵权死死缠住的任天堂几乎已经被淘汰。Wii的出现,是一个时代的先声。未来呢?
3苹果:你以为我不知道“刘?!背?#xff1f;

iPhone X发布以后,可怜的“刘?!痹獾搅巳蚋鞯匚奘说耐虏邸1收叱腥?#xff0c;我也觉得丑爆了。但是!这明明是苹果下的一盘大棋,“刘?!北硎竞芪?。
iPhone X的Face ID功能可不是简简单单给你照张相,然后进行对比。它的秘密就藏在被大家嫌弃的“刘海”里面——一套多传感器组成的“深感摄像头”(TrueDepth)。它会投射超过 30,000 个肉眼不可见的光点,对用户的面部进行分析和绘制,进而生成一张深度图?!巴渡洹薄ⅰ肮獾恪?#xff0c;是不是很眼熟?
这套技术正是来自于Kinect的硬件提供商——以色列公司PrimeSense,而这家公司早在2013年就被苹果公司收购了。有人戏称,“iPhone X的‘刘海’里藏着一部Kinect”,没毛病。这可不是苹果公司的第一步,在2015年就有一项运用于MAC的类似技术获得专利。是不是觉得,跟Kinect更像了?

不管“刘?!笔艿蕉嗌偃说南悠?#xff0c;其意义都是巨大的。通过把体感硬件整合进便携设备,实施场景得到了极大的扩展。高昂的手机价格,使得这一技术还未普及,以此为基础的软件开发还没有爆发出来。打破这一现状,笔者相信,不会太久。




首页
上一篇 

评论