-
专利 -
商标 -
版权 -
商业秘密 -
反不正当竞争 -
植物新品种 -
地理标志 -
集成电路布图设计 -
技术合同 -
传统文化
点击展开全部
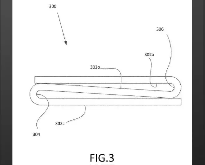
北京时间3月18日消息,专利资讯博客Patently Mobile发现的最新专利文件显示,谷歌工程师正在研究可折叠智能手机,并表示其已经设计出可弯曲成“U”形的屏幕,这些专利于去年年底发布。


最新专利申请显示,谷歌可折叠手机采用向外折叠的设计,配有宽间隙铰链,屏幕薄而柔韧,可以弯曲成多种形状,甚至可像皮夹一样完全闭合。除此之外,专利文件没有显示关于第二或第三屏幕的任何信息,也没有规格说明。


多年来,屏幕制造商致力研发柔性屏幕,并承诺智能手机最终可以折叠以方便携带。值得注意的是,与三星、华为相比,谷歌此次呈现的可能只是专利申请信息,并不代表最终的产品设计,该公司不一定会在近期推出相关产品。



首页
上一篇 

评论