
-
专利
-
商标
-
版权
-
商业秘密
-
反不正当竞争
-
植物新品种
-
地理标志
-
集成电路布图设计
-
技术合同
-
传统文化
点击展开全部
律师动态
更多 >>知产速递
更多 >>审判动态
更多 >>案例聚焦
更多 >>法官视点
更多 >>裁判文书
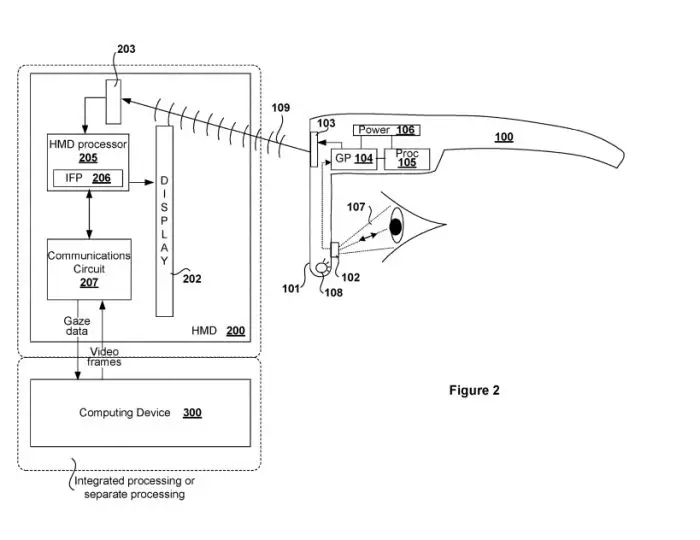
更多 >>一份上周曝光的专利申请表明,索尼已经申请了一项PSVR适配专用眼镜的专利,旨在戴眼镜的人使用PSVR时遇到的种种问题。其中一项突出的亮点在于该眼镜将支持眼球追踪功能。专利中的描述总结如下:
“与眼镜一起使用的VR头部设备会通过‘编码信号’检测到这副眼镜,并随之关闭VR头戴自己的‘视线检测功能’。”
“与此同时,眼镜上的眼球追踪功能系统会将用户的视线信息无线传输到VR头部设备中,使得设备的图像处理器对显示器图象进行符合用户视线的调整?!?/p>
将眼球追踪系统置于眼镜而非VR主机上有些出乎意料,索尼现有的PSVR设备并没有眼球追踪功能,这可能是为了在解决下一代VR主机的问题同时适配当代主机的一种设想。
评论