-
专利 -
商标 -
版权 -
商业秘密 -
反不正当竞争 -
植物新品种 -
地理标志 -
集成电路布图设计 -
技术合同 -
传统文化
近日,某漫威电影解说领域大号发布了一篇《一脸懵逼!公号收到侵权通知,必须注销名字》。文章称该公号因公号名称中含有“漫威”二字而“意外”遭到投诉,投诉理由是“昵称侵权”,而投诉者并非漫威官方,是一家自称“已获授权”的国内公司。
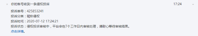
公号主称,7月12日下午5点24分,公号后台突然收到一条“侵权通知”。

按照平台规则,若7日内审核通过,现有公众号ID将被删除。
号主称,刚看到这个消息时,只觉遗憾,毕竟“漫威”商标是迪士尼的。

但细看投诉公司的相关资料后,该公号主产生了质疑。
事件中的投诉方是杭州美漫网络科技有限公司(下称“美漫网络”)。天眼查数据显示,美漫网络成立于2015年4月,注册资本为50万元,主要经营范围为:网络技术、计算机软硬件、游戏软件、电子产品、通讯系统的技术开发、技术服务、成果转让等。

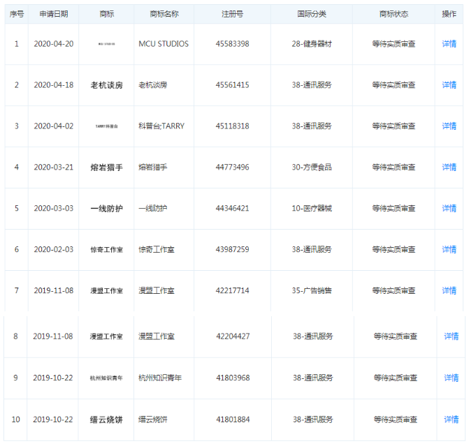
小编通过中国商标网进行检索,发现美漫网络共申请注册20件商标,其中仅4件商标获准注册,分别是第35类的“武林壹号”商标、第35类的“观云台”商标、第38类的“漫威”商标以及第38类的“华夏四季”商标,其他商标处于被驳回或等待实质审查阶段。


值得一提的是,中国商标网信息显示,该公司注册了多件与漫威相关的商标,目前这些商标的状态为:第28类“MCU STUDIOS”、第38类“惊奇工作室”、第35类“凯文费奇”、第28类“漫威旗舰店”处于待审查状态;第35类“漫威影业”处于已无效状态;第38类“漫威”处于已注册状态,但于2020年3月被提起无效申请。
另据两方的聊天记录,杭州美漫称,对出售漫威周边的公众号都会予以投诉处理。

美漫网络称自己于去年年底拿到迪士尼的授权许可、投诉方提供的授权书,但关键信息都被打上马赛克。


那么,这些授权是否真实?
北京卓纬律师事务所律师孙志峰表示,首先,这些照片里并没有知识产权授权书;
其次,给万慧达的声明是属于给万慧达出具的单方声明,并不能证明其被合法授权,况且落款公章也被遮盖;
再次,那个经涂改的经销合同,属于销售合同范畴,并不属于知识产权许可协议,从第一页的内容也未看出知识产权授权事项,更没有授权销售商进行知识产权维权的特别授权,无法通过该合同就判定其经过权利人授权使用知识产权和进行相应维权;
第四,涂抹都是将所谓权利人进行了遮蔽,无法判断其是否属于真实的权利人。
也就是说,这家美漫网络公司正打着“被授权方”的名义四处举报其他公号?“狐假虎威”剧情上演?
那么,如何判断公号名称中使用“漫威”二字是否侵权呢?
孙志峰律师表示,要看公众号的使用方式是否落在注册商标核定商品或服务范围内,如果公众号内容和使用方式与核定商品或服务即不相同也不类似,那么就不构成商标侵权。此外,要看公众号使用方式是否属于合理使用。
如果公众号内容发表的都是漫威宣传或回顾性的文章,以粉丝表达对漫威作品喜爱的形式,且并没有攀附或利用漫威知名度和美誉度进行营利活动的,那么实际上不构成对漫威商标的侵权,也不宜认定属于不正当竞争,而是属于一种合理使用。
继续谈谈这事儿,事件经过一天的发酵,引发了该公号粉丝的强烈反应。次日凌晨,美漫网络主动联系该公号主,称投诉失误,已经撤诉。该公号主已删除原文,并重新刊发一篇说明,以安抚粉丝。
另外,据了解,MARVEL CHARACTERS, INC.(漫威)2016年前已在美国注册1448件商标,但在中国申请注册数量并不多。截至目前,漫威在中国还没有一个官方公众号。
那么,广大公众号号主们如何防范“被授权方”的侵权投诉或举报呢?孙志峰律师给出了详细建议:首先,应要求对方提供授权协议予以核对。一般情况下,特别是大型的IP持有者,不仅会向被许可方提供知识产权授权书,也会与被许可方签订知识产权授权许可协议,并约定授权区域、授权知识产权内容、授权时间等各方面的信息。
其次,境外授权书最好履行过相应公证认证手续。中国民诉法明确规定,境外形成的授权书必须经过公证认证,也就是说在民事诉讼阶段,如果经授权使用的利害关系人主张知识产权的,应当对知识产权权利人授权书及相应合同进行公证认证。许多被授权使用的利害关系人往往基于后续维权需要,都对授权书及相应授权 许可合同进行了公证认证,针对这方面的情况,可以要求对方提供经过公证认证的授权书原件进行核查。
再次,要查看授权方是否属于知识产权权利人或有权转授权的知识产权被许可方。授权方一般情况下应当是商标专用权人、著作权人或专利权人,商标权和专利权为国家授权,可以通过中国商标网或国家知识产权局专利检索查询进行核实。对于著作权,一般可以要求对方提供著作权登记备案证书等著作权登记证明或其他能够证明其享有著作权的证据和材料。如果属于转授权的,那么就应要求对方提供其根据知识产权专用权人授权许可合同,且该合同中明确授权该方有转授权权限。
第四,要仔细检查授权书的具体授权项目。比如仅是授权销售衍生品的所谓许可书,法律属性实际上仅是赋予销售资格,一般情况下并不具备知识产权授权的法律意义。再比如,授权使用范围为美国,那并不意味在中国境内的知识产权使用就是经过授权许可的。还比如,授权时间已经超期了,就证明其不再具备被授权的使用知识产权资格。
第五,关注知识产权权利的声明。一些知识产权权利人会在官方网站或其中国地区的办事处、关联公司发表声明,对一些冒用其名义进行虚假宣传等不正当竞争行为进行澄清,可以作为判别情况的重要参考。
不知地表最强法务团队有没有发现那些打着“授权”幌子变相盈利的公司呢?



首页
上一篇 

评论