
-
专利
-
商标
-
版权
-
商业秘密
-
反不正当竞争
-
植物新品种
-
地理标志
-
集成电路布图设计
-
技术合同
-
传统文化
律师动态
更多 >>知产速递
更多 >>审判动态
更多 >>案例聚焦
更多 >>法官视点
更多 >>裁判文书
更多 >>据多家美媒当地时间7日(北京时间11月8日)报道,拜登在2020年美国总统大选中赢下宾夕法尼亚州,获得超过胜选所需的270张选举人票,赢得大选。但特朗普方面拒绝接受预测结果,称还有州需要重新计票,并承诺将采取法律行动,保证结果合法性。
?
北京时间11月8日凌晨,在美国主流媒体公布“拜登胜选”后,加拿大、德国、爱尔兰、津巴布韦、英国、希腊、奥地利、法国、西班牙、印度等国家领导人先后祝贺拜登胜选。
?
美国东部时间11月7日晚8时(北京时间8日9时)许,拜登和哈里斯在特拉华州威尔明顿向全国发表讲话。据美国有线电视新闻网(CNN)报道,拜登以当选总统身份登场发表讲话,他在讲话中表示,“必须重塑美国的灵魂”。据《卫报》报道,拜登对特朗普的支持者说,他理解他们的“失望”。他以前也“迷失”过。但现在,“让我们给彼此一个机会”。
?
同一天,世卫组织总干事谭德塞在个人社交媒体上祝贺拜登当选美国总统,哈里斯当选副总统。谭德塞表示,自己与世卫组织其他同事均期待与拜登团队合作,新冠肺炎危机体现了全球团结对?;ど蜕频闹匾?。
?
当日,特朗普的支持者举行抗议活动,称“特朗普还是会成为我的总统”;而拜登的支持者则上街庆祝,“你知道吗,特朗普已经输了”。
?
美国大选暂时尘埃落定,但忙于竞选的拜登或将创造了一个第一,即美国第一位被抢注姓名商标并且成功的美国“当选总统”。
?
在拜登当选总统的两周前,商标局网站公布了第45466862号“拜登”商标的初审公告,该商标于2020年4月15日申请,10月27日初审通过,核准使用于第10类,服务项目为失禁用垫单;医用手套;手术衣;医务人员面罩等。
?
?
而这或许将会是最后一件通过初审的“拜登”商标。因为在拜登当选总统之后再申请其姓名为商标则违反了商标法第十条第一款第(八)项规定:有害于社会主义道德风尚或者有其他不良影响的不得作为商标使用。
?
据中国商标网查询可知,截止2020年11月6日,申请“拜登”相关商标的有106件。
?
?
据了解,2019年4月25日,拜登宣布参选2020年美国总统。在这之后,共有43件“拜登”相关商标申请。
?
其中2019年4月25日之后第一个申请“拜登”商标的为安徽徽满穗植物?;び邢薰?#xff0c;第38328953号商标为2019年5月21日申请,核准使用类别为第5类,主要用于消灭有害动物制剂; 消灭有害植物制剂;等商品服务,目前商标已成功注册。
?
?
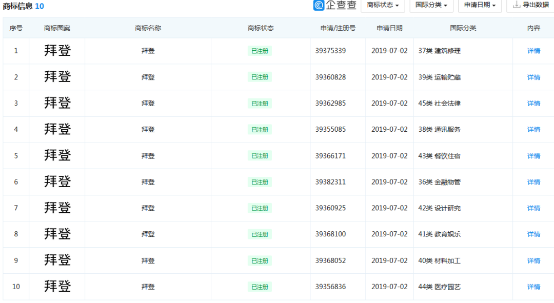
其中,据企查查数据显示拜登(上海)置业发展有限公司申请的10件“拜登”商标均已成功注册,商标核准类别包括,第37类、第39类、第45类、第38类、第42类等多种类别。
?
?
深圳之星实业有限公司申请了14“拜登”商标均已成功注册,商标核准类别包括,第45类、第13类、第8类、第15类、第10类等多种类别。
?
江苏拜登实业有限公司申请了6“拜登”及“baideng”商标,其中两件商标已初审公告,商标核准类别主要为第24类布料床单、第10类医疗器械等。
?
?
综上,截止2020年11月8日,在拜登参选美国总统到大选成功期间,共有25件“拜登”商标成功注册,一件“拜登”商标和一件“baideng”商标已初审公告。
?
美国总统被申请注册商标,拜登不是第一人,也不会是最后一人。
?
在国际上争议极大的特朗普就被申请了156件相关商标,其中“特朗普-拜登”的商标甚至在前不久引发了知识产权界不小的争议。不过至今并未有“特朗普”商标注册成功。
?
而特朗普的前任奥巴马,也难逃抢注的命运。据中国商标网,共有38件“奥巴马”相关商标被申请注册,同样并未有申请成功的。
?
而究其原因,拜登为什么会这么“倒霉”被注册成功呢?大概是因为2019年我国知识产权审查质量和审查效率持续提升,商标注册平均审查周期压缩至4.5个月。而美国总统大选大概是1年左右,所以在拜登竞选时间内就足够商标局的同志们通过审核商标了。
?
不知道拜登在正式就职美国总统后,会不会像特朗普一样来中国打商标官司呢?
评论