-
专利 -
商标 -
版权 -
商业秘密 -
反不正当竞争 -
植物新品种 -
地理标志 -
集成电路布图设计 -
技术合同 -
传统文化
点击展开全部
律师动态
更多 >>4月13日,京东方发布2020年业绩报告称,公司实现营业收入为1355.53亿元,同比增长16.80%;归属于上市公司股东的净利润为50.36亿元,同比增长162.46%。
其中,柔性OLED产品加速上量,全年销量同比增长超100%,完成了中电熊猫南京8.5代和成都8.6代液晶产线收购,同时也完善了技术和产品布局,进一步提升了京东方在行业中的竞争优势。
目前,随着显示技术的发展以及人们的需求,柔性显示屏成为目前显示领域比较热门的研究项目之一,柔性显示屏OLED显示面板的基板大多采用薄玻璃基板、金属箔基板或聚合物基板等。
但是,玻璃的柔韧性和机械性能较差,不宜应用于柔性显示面板中,而金属箔基板粗糙度比较高,弯折时显示器件容易脱落,聚合物耐热性和阻隔性较差,不宜用于高热量集成电路中,且会影响器件寿命。
因此,现有技术中的柔性OLED显示面板中的基板的使用性能较差,对于柔性显示面板适用性较差。为此,京东方在2019年4月9日申请了一项名为“一种柔性显示面板及其制备方法以及显示装置”的发明专利(申请号:201910279632.9),申请人为京东方科技集团股份有限公司。
根据该专利目前公开的相关资料,让我们一起来看看这项方案技术吧。

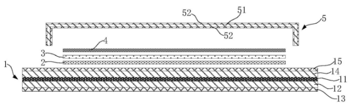
如上图,为该专利中发明的柔性显示面板的结构示意图,这种柔性显示面板包括柔性衬底1、设置于柔性衬底上的阳极层2、位于阳极层上电致发光层3、位于电致发光层上的阴极层4以及封装层5。
在柔性衬底中,包含有水氧阻隔层11、第一柔性支撑层12、第一柔性?;げ?3、第二柔性支撑层14和第二柔性?;げ?5。由此可见,这是一种由多种膜层构成的叠层结构层。水氧阻隔层可以隔绝外界的氧气和水蒸气,支撑层为柔性显示面板提供了较好的柔性支撑性能,为搭载由这种显示面板的设备提供了较好的机械性能。
由此可见,这种柔性显示面板的衬底基板综合特性较好,非常适用于柔性显示面板,有效缓解了现有技术中柔性显示面板的衬底的柔韧性、机械性能差或耐热性、阻隔性差等综合性能较差的问题。

如上图,为这种柔性显示面板制备方法的流程图,首先,制备水氧阻隔层、柔性支撑层、和柔性?;げ阋孕纬扇嵝猿牡?。接着,在柔性保护层背离第二柔性支撑层的一侧形成阳极层;在阳极层背离第二柔性支撑层的一侧形成电致发光层;在电致发光层背离阳极层的一侧形成阴极层。最后,在阴极层背离电致发光层的一侧安置封装层,以形成面板整体结构。
以上就是京东方发明的柔性OLED显示面板方案以及制备过程,该专利中发明的柔性显示面板由多种不同功能的面板层叠加形成,具有较好的韧性、机械特性以及阻隔性能。因此,可以有效解决现有技术中机械性能差或耐热性、阻隔性差等综合性能较差的问题。



首页
上一篇 

评论