
-
专利
-
商标
-
版权
-
商业秘密
-
反不正当竞争
-
植物新品种
-
地理标志
-
集成电路布图设计
-
技术合同
-
传统文化
律师动态
更多 >>知产速递
更多 >>审判动态
更多 >>案例聚焦
更多 >>法官视点
更多 >>裁判文书
更多 >>摘要:近期新东方频频引发关注,与董宇辉一同“出圈”的,还有新东方旗下的直播带货平台——“东方甄选”。
6月13日,在新东方旗下“东方甄选”直播间中,“曾经是新东方老师,现在是售货员”、自称“中关村周杰伦”、被网友戏称是“中关村兵马俑”的新晋网红主播董宇辉抱起吉他,唱起《当你老了》,一行行弹幕飘过,其中,有网友打趣地说:“中关村周杰伦越来越火了?!蓖?#xff0c;新东方在线(01797.HK)和新东方(09901.HK)股价出现暴涨的消息登上了微博热搜。
事实上,近期新东方频频引发关注,与董宇辉一同“出圈”的,还有新东方旗下的直播带货平台——“东方甄选”。有媒体报道称,新东方系列股票大幅暴涨,与“东方甄选”在极短的时间里制造了刷屏效应有着重大的关系,资本市场也敏锐地嗅到了“东方甄选”的潜力。第三方平台公布的数据显示,自6月10日开启“双语带货”以来,3天内,“东方甄选”粉丝增加157万,销售额增加1777万元,且在线观看人数最高约达10万人,相比之前的峰值在线千人上涨了超10倍。
公开资料显示,2021年12月28日,新东方在微信平台发文,当晚8点将推出直播带货新平台“东方甄选”。公开信息显示,“东方甄选”为新东方集团、新东方在线唯一农产品直播带货平台。成立之初,“东方甄选”的直播并不引人关注,即使新东方创始人俞敏洪多次亲自带货,直播在线人数也仅有数百人左右。但自从开始发挥自身优势、开启双语带货以来,“东方甄选”迅速升温,频频登上各大热搜榜单。毕竟,卖牛排,能从英文单词“steak”的起源讲起;卖大虾,先教“虾的4种写法”;卖电子钢琴,随手就弹奏起了《卡农》……一边直播卖货一边教学英语,由新东方老师“摇身一变”转型为售货员的“东方甄选”带货主播们确实与众不同。
董宇辉直播带货
双语直播卖牛排
那么,正在直播带货这一“红?!敝蟹芰值摹岸秸缪 ?#xff0c;其商标状况如何呢?
对此,记者登录中国商标网进行了检索。检索结果显示,在新东方宣布推出“东方甄选”之前的2021年12月8日,新东方教育科技(集团)有限公司旗下北京新东方迅程网络科技股份有限公司就已经在全部45类商品或服务类别上就“东方甄选”提交了商标注册申请(详情见下图1),目前均处于等待实质审查状态(如下图2所示)。
图1
图2
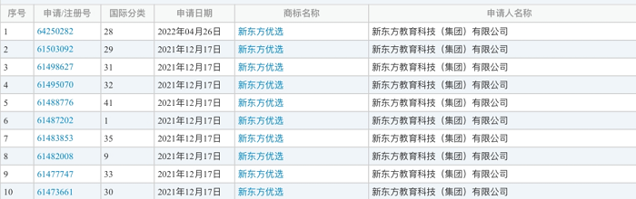
此外,2021年12月17日,新东方教育科技(集团)有限公司还提交了多件“新东方农品优选”“新东方优选”商标注册申请(详情见下图3、图4)。记者注意到,目前这些商标注册申请有的处于初审公告状态,有的处于等待实质审查状态,有的处于驳回复审中。
图3
图4
从上面的检索结果可以看出,新东方的“商标意识”是十分到位的。近年来,企业提前进行商标布局,申请注册大量相关商标的情况并不罕见,如阿里巴巴、小米、老干妈等知名企业都曾筑起“商标护城河”。正如不少业内专家所言,当今社会,品牌战愈发激烈,商标是品牌无形的“?;ぶ帧?#xff0c;为企业发展保驾护航。企业只有在创立品牌时做好商标战略布局,才能有效避免品牌所对应的商标被他人抢先注册,造成不必要的权利纠纷,更好地?;ぷ陨砥放?。新东方在推出“东方甄选”直播带货平台之前就提前进行商标布局,提交相关商标注册申请,无疑是明智之举。
评论