
-
专利
-
商标
-
版权
-
商业秘密
-
反不正当竞争
-
植物新品种
-
地理标志
-
集成电路布图设计
-
技术合同
-
传统文化
点击展开全部
律师动态
更多 >>知产速递
更多 >>审判动态
更多 >>案例聚焦
更多 >>法官视点
更多 >>裁判文书
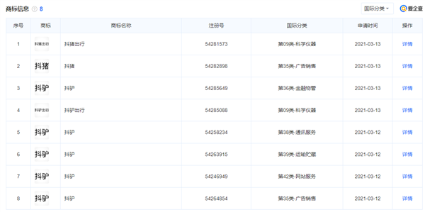
更多 >>近日,第54285649号“抖驴”商标准予注册的文书公开。
文书显示,北京字跳网络技术有限公司对京杭(温州)科技有限公司申请的“抖驴”商标提出异议。
国家知识产权局经审查认为,被异议商标与异议人引证的部分“抖音”商标指定使用商品的功能用途、服务的内容特点等方面存在一定区别,未构成近似商标。
此外,“抖驴”与异议人部分引证在先注册的“抖”“抖音”商标在文字构成、呼叫等方面具有一定差异,未构成近似商标。
因此,被异议商标的注册使用一般不会造成消费者的混淆,国家知识产权局对第54285649号“抖驴”商标准予注册。
据了解,京杭(温州)科技有限公司还注册了“抖猪”“抖猪出行”“抖驴出行”等商标。
资料显示,京杭(温州)科技有限公司成立于2021年02月04日,经营范围包括一般项目:软件开发;物联网技术研发;计算机系统服务;摩托车及零配件批发;汽车租赁;互联网销售等等。
评论