
-
专利
-
商标
-
版权
-
商业秘密
-
反不正当竞争
-
植物新品种
-
地理标志
-
集成电路布图设计
-
技术合同
-
传统文化
律师动态
更多 >>知产速递
更多 >>审判动态
更多 >>案例聚焦
更多 >>法官视点
更多 >>裁判文书
更多 >>在审查意见答复过程中,需要进行创造性答复的情形占到了绝大部分,而在进行创造性答复过程中往往使用“三步法”的答复思路进行答复,下面就审查决定的角度分析在答复过程中对“三步法”的运用。
一、相关规定
专利法第22条第3款的规定。发明的创造性,是指与现有技术相比,该发明有突出的实质性特点和显著的进步。
审查指南第二部分的第四章中3.2.1.1判断方法。判断要求保护的发明相对于现有技术是否显而易见,通??砂凑找韵氯霾街杞?。
(1)确定最接近的现有技术
(2)确定发明的区别特征和发明实际解决的技术问题
(3)判断要求?;さ姆⒚鞫员玖煊虻募际跞嗽崩此凳欠裣远准?/p>
二、技术概述
2.1、申请文件(CN201710112385.4)
本申请公开了一种散热设备及终端,应用于终端中,包括:导热器以及第一散热器;所述导热器与终端中的至少两个高功耗芯片相连;所述第一散热器与所述导热器相连接;所述导热器用于吸收终端中的至少两个高功耗芯片产生的热量,并将吸收的热量传导至第一散热器进行散热。本申请中的导热器具有导热性能,用于吸收至少两个高功耗芯片产生的热量,并将热量传导至第一散热器,使得至少两个高功耗芯片可以共用第一散热器进行散热,有效利用了第一散热器的吸热能力,提高了环路热管散热器的利用率。
2.2、对比文件1(CN201120411382.9)
本实用新型公开了一种电子发热源的散热改良装置,主要包括一产生热量的电子发热源,以及一可快速地传导热量的导热管,在导热管上结合一可对外发散热量的散热组件,且在电子发热源与导热管之间设有一传导固定片,所述传导固定片的一侧表面经由一具极佳热传导效率的导热件与电子发热源相接触,传导固定片的另一侧表面与导热管相接触,另在所述传导固定片的至少一侧表面设有可使热量迅速横向热传导的扩散导热层,通过所述扩散导热层将传导固定片的热量均匀横向扩散,可有效避免热量局部集中且辐射至壳罩或底板上而造成温度分布不均的情况。
2.3、对比文件2(CN201010188648.8)
一种散热装置,用于同时对二电子元件进行散热,其包括用于分别与该二电子元件导热接触的二散热器、及导热连接于该二散热器之间的一热管。本发明的热管连接于该二散热器之间,可将位于下风处电子元件的热量及时地传导给位于上风处电子元件上的散热器,这样,即使位于上风处电子元件上的散热器阻挡了气流吹向下风处电子元件上的散热器,也不会造成二电子元件的温度差异较大。
三、“三步法”的运用过程
在针对申请文件的复审决定中合议组对修改后的权利要求1的创造性进行了详细的分析,对于创造性的评述过程中的“三步法”论述方式较为明显。复审决定书第220796号决定的最终观点如下:
3.1、步骤1 确定最接近的现有技术
权利要求1请求保护一种散热设备,对比文件1公开了一种电子发热源的散热改良装置,并具体公开了以下技术特征(参见说明书第[0028]-[0030]段,附图3-5):
参见附图3、4,本实用新型的结构主要包括电子发热源1、导热管2、传导固定片3以及扩散导热层4等部分,其中电子发热源1为一可产生热量的电子组件,可为CPU、功率晶体或其他类似的电子组件,其设置于一电路板10上,从附图3中可见具有2个电子发热源1,即公开了本申请的至少两个高功耗芯片;传导固定片3设置于电子发热源1与导热管2之间,其一侧表面与电子发热源1相接触,另一侧表面与导热管2相接触,且该传导固定片3具有极佳的纵向传导效果,可将电子发热源1产生的热量由其一表面迅速地传递至另一表侧的导热管2。因此传导固定片3相当于本申请的导热器,导热基板;
导热管2为一内部容纳有冷媒的中空管体,在其一端部结合有一由散热片211与风扇212所组成的散热组件21,利用该冷媒在导热管2的冷热对流特性,可使导热管2快速的传递热量,并通过散热组件21对外发散,因此导热管2相当于本申请的第一散热器。
由电子发热源1产生且未立即由导热管2发散的残余热量,则可通过传导固定片3传输至扩散导热层4,并由该扩散导热层4横向扩散而大面积地均匀分布。
步骤1说明:
1、论述最接近的技术方案(对比文件1)的技术方案和原理。
2、需要重新划分本申请权利要求1与对比文件1的区别技术特征时可以先论述对比文件1的技术方案。
3、如果认可审查意见对于区别技术特征的划分,不需要重新划分本申请权利要求1与对比文件1的区别技术特征,则直接由步骤2开始。
4、针对技术方案进行说明的过程中建议增加申请文件和对比文件中的附图辅助说明。
3.2、确定发明实际解决的技术问题
3.2.1、根据最接近的现有技术确定发明的区别特征
可见,权利要求1与对比文件1的区别在于:
(1)应用于终端中;所述高功耗芯片的数量为两个或三个;第一散热器为蒸发器,蒸发器通过环路热管管路与冷凝器连接;
步骤3.2.1说明-指出本申请权利要求1与对比文件1的区别技术特征
1、通过本申请与对比文件1的比较得到区别技术特征,将本申请的区别技术特征予以明确。
2、区别技术特征划分注意不要划分得过细,具有一定的技术效果即可;但也不宜过长,区别技术特征过长存在不方便论述工作原理和技术效果的问题。
3、需要注意,区别技术特征的划分可以与审查员给出的不同。但是,在重新划分区别技术特征后对于审查员的论述不予认可的观点在区别技术特征的论述过程中需要进行针对性反驳。例如,审查员认为本申请的A特征与对比文件1的X特征等同,则在后面论述A特征时需要针对审查员的观点予以回复,进行抗辩,不能只给出区别特征对审查员的观点不予回应。
3.2.2、根据区别技术特征确定发明实际解决的技术问题
基于上述区别特征所能达到的技术效果,可以确定权利要求1实际解决的技术问题是如何提高散热器的使用效率和散热效率。
步骤3.2.2说明-根据区别技术特征重新确定技术问题
1、重新划分区别技术特征所解决的技术问题,可以与审查员给出的不同,如果不同,则需要在后续的论述中予以说明。
2、如果认可审查员重新定义的技术问题可以直接描述。
3.3、“显而易见”的判断
判断“显而易见”需要本领域技术人员在发明申请日之前进行合理预期,通过技术整体分析确定是否存在对最接近现有技术进行改进的启示。
针对区别技术特征(1)
将对比文件1公开的散热装置应用于终端以及三个高功耗芯片中是本领域的公知常识,本领域中,填充有相变冷却介质的导热管的一端设置于热源,所吸收的热量使得冷媒蒸发,因此被称为蒸发段,冷却介质经过对流后至另一端发生热量交换,另一端被称为冷凝段,因此导热管中具有蒸发器和冷凝器是本领域公知常识,蒸发器和冷凝器之间的热管管路设置为环路是本领域技术人员根据电子终端内部空间而采用的常规设计。
步骤说明:
该部分为驳回复审决定书内容,一般我们对此类常规设计会进行抗辩,抗辩的方式如步骤4,也是通过论述有益效果以及列举现有技术未使用该类技术的方式进行抗辩。
针对区别技术特征(2)
其限定了蒸发器与多个高功耗芯片、第二散热器的位置关系?;谒薅ǖ奈恢霉叵悼梢钥闯?#xff0c;多个高功耗芯片共用一个蒸发器且蒸发器并未设置于芯片正上方,而是设置于两个芯片之间,中间通过导热基板将热量从高功耗芯片水平传导至蒸发器,从而不需要像现有技术所采用的在每个芯片正上方都设置蒸发器,相应的,芯片正上方的位置用来放置翅片状的第二散热器。
步骤3.3.1说明
对区别技术特征进行技术方案和原理的结合描述,对技术方案的描述过程需要进行合理的推导,不能直接给出结论。
通过上述设置,一方面使用的蒸发器数量少于芯片数量,提高了蒸发器的使用效率,另一方面,由于蒸发器与翅片散热器在垂直方向不重合,水平方向与垂直方向的散热路径无交叉,提高了整个散热系统的散热效率。
步骤3.3.2说明
对区别技术特征的技术效果进行合理的推导,得到合理的技术效果。
对比文件1中,虽然两个电子发热源共用了同一根导热管,然而导热管设置在电子发热源的正上方,且贯穿两个电子发热源,因此导热管在每个电子发热源上方均存在蒸发部分,相当于为每个电子发热源均设置了蒸发器,与本申请背景技术部分提到的蒸发器的设置方式相同,不同于本申请的将蒸发器设置于两个电子元件中间、不位于电子元件正上方,并且对比文件1中并未涉及提高蒸发器使用效率的技术问题,因此无法给出减少蒸发器的技术启示。同时,对比文件1中无论导热管2还是扩散导热层4,其散热路径均为水平扩散,未涉及垂直散热路径。
步骤3.3.3说明-针对区别技术特征与对比文件进行分析
1、如果在对比文件中也有达到区别技术特征的技术方案类似效果的技术方案可以在论述过程中予以说明,通过此种方式间接体现有其他的手段可以实现类似的效果,但本申请的技术手段与对比文件不同而且具有不同的效果。
2、现有技术中的技术手段论述的目的在于体现两者的不同,技术的调整具有难度。
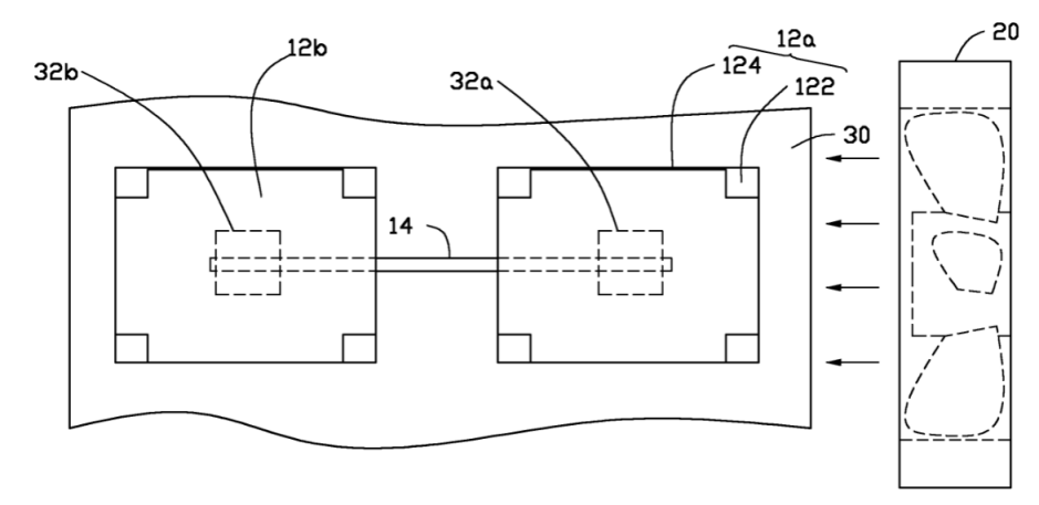
对比文件2公开了一种散热装置,并具体公开了(参见说明书第[0020]、[0021]段,附图1、2):散热装置10用于同时对安装在一电子装置内的一主机板30上间隔设置的二电子元件32a、32b(相当于本申请的高功耗芯片)进行散热,其包括二安装在主机板30上的散热器12a、12b,与该二散热器12a、12b导热连接的一热管14及邻近其中一散热器12a而远离另一散热其12b设置的一风扇20。每一散热器12a、12b由铜、铝等导热材料一体制成,其包括一矩形导热板122(相当于本申请的导热器,导热基板)及自导热板122上表面垂直向上延伸的若干散热鳍片124,导热板的下表面与对应的一电子元件32a、32b导热接触(即第二散热器位于高功耗芯片正上方),导热板122的底部开设一纵长的沟槽126,热管14为扁平状,其两端容置在该二散热器12a、12b的沟槽126内,该热管两端的下表面与该二电子元件32a与32b导热接触。当该散热装置10工作时,热管14及每一散热器12a、12b的导热板122吸收电子元件32a、32b产生的热量并将热量传递给上面的散热鳍片124,该风扇20产生的气流沿着散热鳍片124间的气流通道以散发掉散热鳍片124上的热量。热管14可将远离风扇20出风口处、位于风扇20下风处电子元件32b的热量及时地传导给邻近风扇20的出风口处、位于风扇20上风处电子元件32a上的散热器12a,这样,即使位于风扇20上风处电子元件32a上的散热器12a阻挡了风扇20产生的气流吹向风扇20下风处电子元件32b上的散热器12b,也不会造成二电子元件32a、32b的温度差异较大。
步骤3.3.4说明:
多对比文件结合时分别论述技术方案的工作原理,针对本申请的权利要求1所能针对的技术特征进行说明。
从上述公开内容可知,虽然对比文件2公开的散热装置既包括了热管,也包括了设置于电子元件正上方的鳍片状散热器,但是,该热管仍然为设置于两个电子元件的正上方并贯穿两个电子元件,也即同时与两个电子元件相接触,相当于为每个电子发热源均设置了蒸发器,与本申请背景技术部分提到的蒸发器的设置方式相同,不同于本申请的将蒸发器设置于两个电子元件中间、不位于电子元件正上方,而对比文件2也未涉及提高蒸发器利用率的技术问题。对于散热路径,由于电子元件、热管和散热鳍片在垂直方向上依次设置,热管同时兼具将热量沿垂直方向向散热鳍片和沿水平方向向位于风扇上风口的散热器传导的功能,因此其水平与垂直方向的散热路径是交叉的,不同于本申请的相互独立的水平和垂直散热路径。因此对比文件2也未给出区别(2)所限定的将蒸发器设置于两个芯片之间、在芯片正上方设置鳍片状散热器的技术启示。
步骤3.3.5说明:
对比文件的技术方案所达到的技术效果进行说明,通过技术方案、解决的技术问题和技术效果的合理推导与说明的过程中论述是否具有技术启示。
3.4、在进行分析后得到创造性结论
复审通知书中所引用的证据1未公开区别(2)所限定的蒸发器与多个芯片之间的位置关系,未公开散热路径的设置,也未涉及提高蒸发器利用率、提高散热效率的技术问题,无法给出相关技术启示。
对于上述区别(2)所限定的蒸发器与第二散热器以及芯片的位置结构关系,尚无证据表明其为本领域常规设置方式,也即不属于本领域的常规手段或公知常识。通过上述设置方式,达到了节约蒸发器,提高使用率和散热效率的技术效果。因此权利要求1请求保护的技术方案相对于对比文件1、对比文件2以及本领域公知常识而言具有突出的实质性特点和显著的进步,具备专利法第22条第3款规定的创造性。
步骤3.4说明:
对应回复对比文件中是否存在相应的技术问题,是否存在技术启示,然后得出结论。
四、结论
从上述的分析过程可以看到,针对创造性答复的过程核心在于到对专利文件的技术方案的分析。通过对申请文件和对比文件的技术分析以及在分析过程中的合理推导获得申请文件和对比文件涉及的技术方案的工作原理,通过对工作原理的分析更加详细的分解所能获得的有益效果。
在复审决定的论述过程中,通过严格的技术分析以及对“三步法”的灵活运用能够通过严谨的论述将申请文件的创造性进行准确的体现。在答复过程中进行合理的运用有利于提高专利申请的授权通过率。
评论