
-
专利
-
商标
-
版权
-
商业秘密
-
反不正当竞争
-
植物新品种
-
地理标志
-
集成电路布图设计
-
技术合同
-
传统文化
律师动态
更多 >>知产速递
更多 >>审判动态
更多 >>案例聚焦
更多 >>法官视点
更多 >>裁判文书
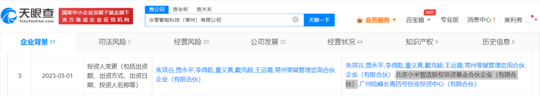
更多 >>天眼查显示,近日,特斯拉(上海)有限公司(下称“特斯拉上?!?#xff09;作为原告,起诉冰零智能科技(常州)有限公司(下称“冰零科技”),案由为“侵害技术秘密及不正当竞争纠纷”。
工商信息可见,特斯拉上海为特斯拉在中国的子公司,特斯拉CEO为埃隆·马斯克。
冰零科技在2023年3月,新增股东北京小米智造股权投资基金合伙企业(有限合伙)(下称“小米智造基金”),系小米创始人雷军的产业投资平台,投资领域包含新能源汽车产业链零部件。
目前,上述两者的纠纷详情尚未披露,但从冰零科技的业务来看,或许涉及造车领域。公开资料显示,冰零科技的创始团队,拥有车规级传感器与控制器领域的产业化实战经验。
争议“侵害技术秘密”
天眼查显示,特斯拉上海与冰零科技的纠纷,主要涉及“侵害技术秘密”等方面,将于2023年10月10日在上海知识产权法院开庭审理。
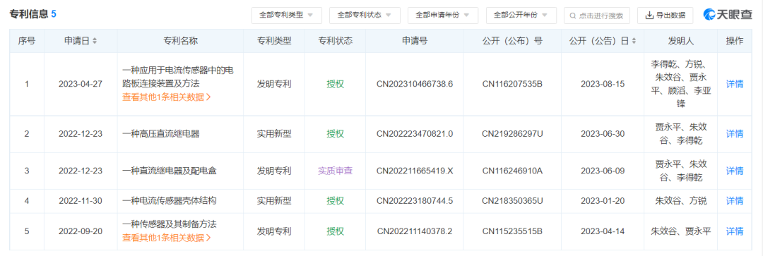
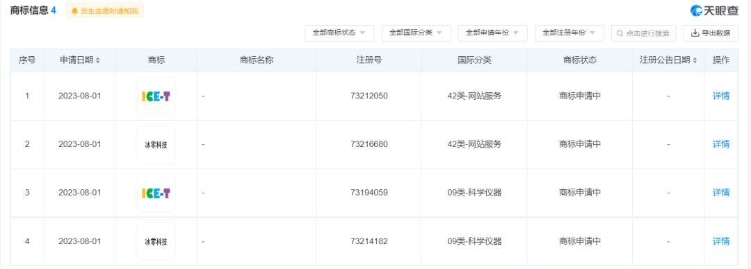
目前,冰零科技在知识产权方面,拥有商标信息4条,状态均处于申请中。
智慧芽显示,冰零科技在继电器技术领域布局最多,细分技术领域为直流继电器、高压直流,已公开专利申请数量5件,发明专利占比60%。
查询可见,冰零科技最新一项专利在2023年4月27日申请,专利名称为“一种应用于电流传感器中的电路板连接装置及方法”。
电流传感器是指检测电路中流动电流值的传感器,可在家用电器、智能电网、电动车、风力发电等领域应用。
现有电流传感器技术,工艺管控较复杂,容易出现质量问题?;诖?#xff0c;冰零科技的上述专利试图实现工艺管控简化、产品质量问题解决等。
该专利技术将电路板与针脚对立设置,且电路板上固设与针脚匹配的弹性组件,用于与电路板内导线电性连接,保证良好的电接触、弹性接触部有合理压缩量,以及弹性接触部的使用寿命。
小米入股不久
在此次诉讼公开前,冰零科技获得小米智造基金入股。据悉,小米智造基金主要围绕新能源汽车产业链零部件、生产制造设备、核心芯片及材料投资。天眼查显示,小米智造基金在2023年3月,成为冰零科技第二大股东,持股比例约11.86%。
冰零科技成立于2022年5月,经营范围包括:工程和技术研究和试验发展、集成电路芯片设计及服务、物联网技术研发、汽车零部件及配件制造等。
小米此前入局造车领域,并且为了快速推进造车进度,通过产业投资平台入股多家汽车领域供应商。而能被小米智造基金看上的企业,均具有一定特色。
公开资料显示,冰零科技创始团队均来自传感器和控制器领域的知名跨国企业,拥有丰富的产业化实战经验。
冰零科技核心创始人贾永平,拥有清华大学精密仪器系硕士学位,目前在读清华大学车辆学院创新领军工程博士。
贾永平此前在跨国企业从事传感器研发工作,并升至某个区域电动化业务负责人,负责新能源汽车用产品研发与市场业务,包括压力传感器、电机转子位置传感器、熔断器、高压直流接触器等。
冰零科技创业初期的主营产品为能效管理类传感器,主要应用于新能源汽车的电池系统管理、电机驱动控制、电源??榈热缦低?#xff0c;是新能源汽车能效与安全管理的核心部件。
目前,新能源汽车关键传感器与控制器产品市场,主要被莱姆、霍尼韦尔等外资品牌垄断,真正具备车规级电流传感器量产能力的国内厂商极少,因此国产化空间很大。
据悉,冰零科技在2022年5月成立,当年实现1500万元订单。
来源:微信公众号“常州高新区上海离岸创新中心”
目前,新能源汽车电流传感器市场,主要被莱姆、霍尼韦尔等外资品牌垄断,真正具备车规级电流传感器量产能力的国内厂商极少,国产化空间很大。
冰零科技的长远战略目标,是成为全球领先的智能汽车感知与控制系统方案提供商。
近期,多项信息显示,小米汽车渐行渐近。如今小米智造基金入股的重要供应商,遭遇电动车龙头特斯拉起诉,是否会对小米造车产生影响,有待时间验证。
评论