
-
专利
-
商标
-
版权
-
商业秘密
-
反不正当竞争
-
植物新品种
-
地理标志
-
集成电路布图设计
-
技术合同
-
传统文化
点击展开全部
律师动态
更多 >>知产速递
更多 >>审判动态
更多 >>案例聚焦
更多 >>法官视点
更多 >>裁判文书
更多 >>
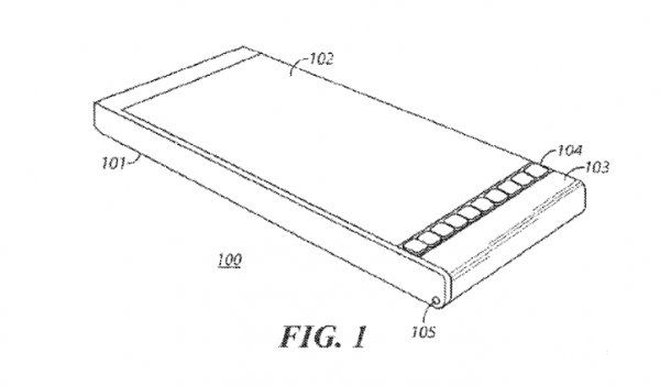
??????? 9 月23 日消息,还有不到几天时间,黑莓全新智能手机 BlackBerry Passport 即将正式公布,不过在此之前,黑莓一个有关智能手机的全新专利刚刚被公布出来,看起来基于此专利的机子与 BlackBerry Passport 一样个性,具有独特的吸引力。?
??????? 相信黑莓黑色粉丝都已经有所了解,BlackBerry Passport 将配备极不寻常的 QWERTY 全键盘,但黑莓希望其智能手机可以拥有更多不同寻常的设计。眼前的专利看起来手机的造型十分奇特,有传闻称其未来将率先运用到一款名为 BlackBerry Victoria 或 Visa 的设备上,并于明年推出,键盘采用可滑动设计。?
????????从对该专利的信息描述了解,该特殊的键盘可以在展开位置和未展开位置之间移动(相对于外壳),旋转枢转部分整合在机壳底部,当处于非展开状态时,机壳会覆盖部分键盘,而当展开时键盘才会完全显示在机身底部。通俗来讲,此键盘有三排,正常情况下只显示第一排,另外两排则默认隐藏到机身的内部,当需要输入时通过旋转可翻出这两排键盘,让键盘保持完整性。?
??????? 其实该专利早在 2012 年已经申请,但黑莓在大约两周之前对其进行了修订,所以从理论上来讲,黑莓可能已经完成了该机子的研发,只等发布。鉴于 BlackBerry Passpor 特殊的键盘设计(全键盘自带有触控板功能),黑莓必定很难规划其未来的线路图,因此该机子继任者很可能会使用此专利,即为可隐藏键盘配备触控板功能,不过这就得砍掉未发布的 Victoria (Visa) 设备。?
??????? 当然,黑莓如何规划线路图还是个未知数,但 Victoria (Visa) 机子的确已经泄露了不少蛛丝马迹,尤其是黑莓手机史上最大的 5.5 英寸屏幕,以及 2015 年第二季度的发布时间。?
??????? 相信黑莓黑色粉丝都已经有所了解,BlackBerry Passport 将配备极不寻常的 QWERTY 全键盘,但黑莓希望其智能手机可以拥有更多不同寻常的设计。眼前的专利看起来手机的造型十分奇特,有传闻称其未来将率先运用到一款名为 BlackBerry Victoria 或 Visa 的设备上,并于明年推出,键盘采用可滑动设计。?
????????从对该专利的信息描述了解,该特殊的键盘可以在展开位置和未展开位置之间移动(相对于外壳),旋转枢转部分整合在机壳底部,当处于非展开状态时,机壳会覆盖部分键盘,而当展开时键盘才会完全显示在机身底部。通俗来讲,此键盘有三排,正常情况下只显示第一排,另外两排则默认隐藏到机身的内部,当需要输入时通过旋转可翻出这两排键盘,让键盘保持完整性。?
??????? 其实该专利早在 2012 年已经申请,但黑莓在大约两周之前对其进行了修订,所以从理论上来讲,黑莓可能已经完成了该机子的研发,只等发布。鉴于 BlackBerry Passpor 特殊的键盘设计(全键盘自带有触控板功能),黑莓必定很难规划其未来的线路图,因此该机子继任者很可能会使用此专利,即为可隐藏键盘配备触控板功能,不过这就得砍掉未发布的 Victoria (Visa) 设备。?
??????? 当然,黑莓如何规划线路图还是个未知数,但 Victoria (Visa) 机子的确已经泄露了不少蛛丝马迹,尤其是黑莓手机史上最大的 5.5 英寸屏幕,以及 2015 年第二季度的发布时间。?
评论