
-
专利
-
商标
-
版权
-
商业秘密
-
反不正当竞争
-
植物新品种
-
地理标志
-
集成电路布图设计
-
技术合同
-
传统文化
点击展开全部
律师动态
更多 >>知产速递
更多 >>审判动态
更多 >>案例聚焦
更多 >>法官视点
更多 >>裁判文书
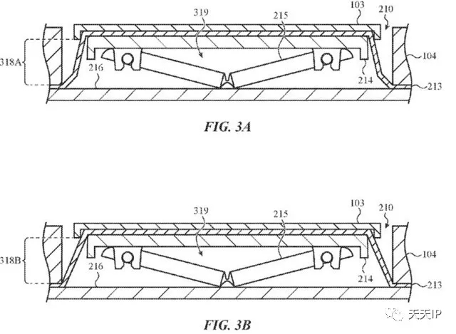
更多 >>刚刚,苹果又发布了一项专利:发明了一款不能被面包屑“攻击”的键盘。众所周知,面包渣等碎屑可谓键盘的“杀手”,而苹果这款号称为面包屑”杀手”的键盘采用密封设计,不仅可以防尘,还能主动清理灰尘碎屑。
苹果新专利:键盘密封可吹气防尘防面包屑(图源:Theverge)
据悉,苹果这项专利描述了2种不同的方式:即键盘可以清除灰尘,或可通过在每个键下面都设计一个薄膜来实现密封缝隙,因此每当按键被按下时,就会吹出空气,以此来清理(吹走)灰尘或键盘上的碎屑。
传闻该专利于其实早在2016年9月8日就已经提交,也就是苹果刚发布iPhone7和iPhone7Plus的一天后。从专利中显示的数字来看,很明显苹果正在考虑多种不同的方法和替代品来创建抗碎屑键盘。
相信对于喜爱键盘的朋友都知道,键盘的按键经常会不小心遭到咖啡等液体或面包屑等固体颗粒的破坏,而这种液体中的残留物如糖,可能会腐蚀或阻碍电路接触,并影响按键活动功能,从而导致运动部件粘合,处理起来非常棘手,键盘也会受到损坏。而此次,苹果新的键盘专利相信能够为广大喜好键盘的朋友们带来了福音,尽管不能保证这项技术能真正走向市场,但还是值得期待的不是么。
评论