-
专利 -
商标 -
版权 -
商业秘密 -
反不正当竞争 -
植物新品种 -
地理标志 -
集成电路布图设计 -
技术合同 -
传统文化
点击展开全部
律师动态
更多 >>知产速递
更多 >>审判动态
更多 >>案例聚焦
更多 >>法官视点
更多 >>裁判文书
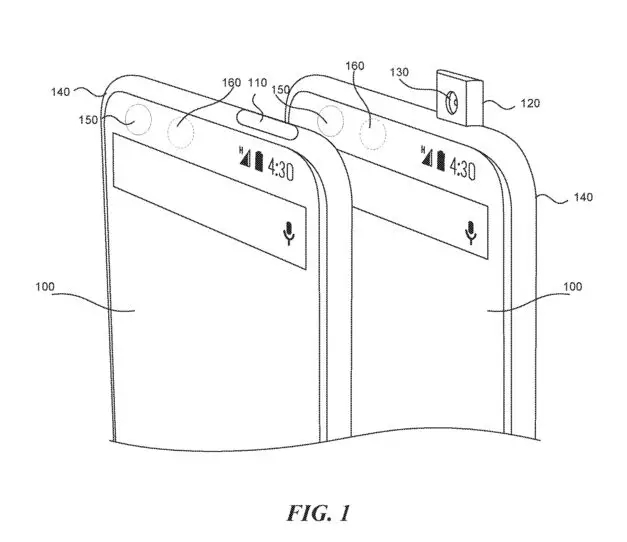
更多 >>在MWC2018大会上,除了三星S9/S9+之外,最吸引科技媒体眼球的莫过于 vivo AEPX 全面屏概念手机了。vivo 这款手机屏占比达到了98%,搭载全球领先的半屏解锁技术,在前置摄像头上也进行了大胆创新。升降式的前置摄像头内置在机身顶端,通过拍照APP自动控制升降,响应时间仅0.8秒。

在vivo AEPX 全面屏概念手机面世不久之后,便有人声称升降式摄像头的专利小米在2015年便已经获得,但看过小米专利的人都知道,小米专利中的升降式摄像头开启和关闭都需要手动操作,显然vivo的解决方案更加便捷。
近日,国外一位粉丝发布了一篇关于vivo AEPX 全面屏概念手机的文章,并@了安卓之父Arubin,安卓之父在看过文章后表示,他拥有这项专利,并附加上谷歌的专利页面。
谷歌专利页面显示,这项专利是在2016年6月申请的,专利的题目为“使移动设备屏幕显示最大化的方法”,该专利在2017年8月申请通过。


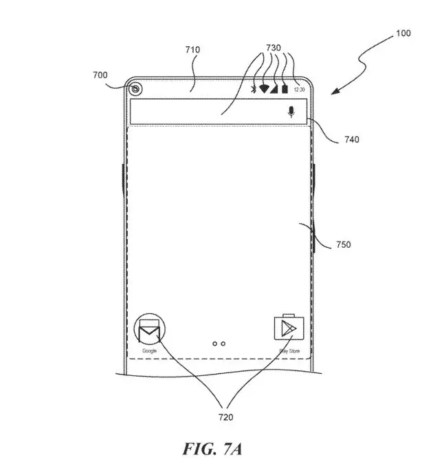
该专利提供了两个解决方案,一个是跟vivo APEX一样的升降式摄像头;另一种是将摄像头内置在屏幕的左上角,并充当永久的相机图标。
虽然安卓之父获得了这个专利,但很显然他并没有应用在其手机产品上,至于下一代会不会使用,还有待时间的检验。




首页
上一篇 

评论