-
专利 -
商标 -
版权 -
商业秘密 -
反不正当竞争 -
植物新品种 -
地理标志 -
集成电路布图设计 -
技术合同 -
传统文化
点击展开全部
律师动态
更多 >>知产速递
更多 >>审判动态
更多 >>案例聚焦
更多 >>法官视点
更多 >>裁判文书
更多 >>
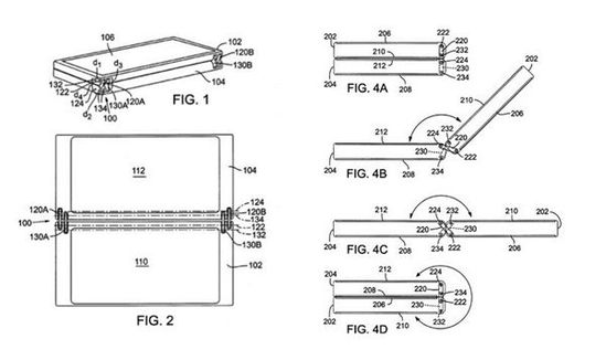
??????? 铰链的设计在笔记本中沿用已久,去年联想的Yoga3 Pro上市时,813颗小零件组成的表链式转动结构让人重温了这种机械之美。微软的一项新专利是用于手机和超级本的铰链设计机制,具体来说,它几乎完美地解决了手机无法张开180度的缺陷,关键是还能保持美感,不牺牲电池、厚度等参数。?
???????????????????????????? 微软新铰链专利 Lumia未来或添双屏款式
??????? 虽然微软一直都是专利巨擘,但不清楚这次是为制约竞争对手还是真的会在设备上采用。不过,Lumia营销部门副总裁Tuula的一席话倒是很振奋:“未来的消费者肯定不会满足于5寸设备,搭载另一款应用或虚拟键盘的第二屏幕将非???。”?

???????????????????????????? 微软新铰链专利 Lumia未来或添双屏款式
??????? 虽然微软一直都是专利巨擘,但不清楚这次是为制约竞争对手还是真的会在设备上采用。不过,Lumia营销部门副总裁Tuula的一席话倒是很振奋:“未来的消费者肯定不会满足于5寸设备,搭载另一款应用或虚拟键盘的第二屏幕将非???。”?





首页
上一篇 

评论