-
专利 -
商标 -
版权 -
商业秘密 -
反不正当竞争 -
植物新品种 -
地理标志 -
集成电路布图设计 -
技术合同 -
传统文化
点击展开全部
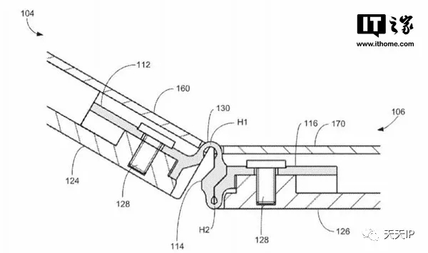
微软内部正在研发一款代号“仙女座”的新设备,这款产品在外界通常被称为Surface Phone,这款产品简单来说是一款搭载Windows系统的二合一微型电脑手机,微软的最新专利申请让我们似乎看清了这款设备的最终形态。今天微软申请的一项新专利得到曝光,详细的阐释了仙女座设备的铰链设计情况。

微软称,采用可折叠式设计的大屏幕手机(平板电脑)的便携性解决方案,用户对于更大屏幕的设备体验有丰富需求,现在的手机尺寸情况下,屏幕已经不可能做的更大,进一步增加屏幕大小将影响该设备的便携性。
专利显示,微软正在研发一款新型设备,比较有意思的是其拥有铰链连接两个屏幕,微软在专利中详细介绍了一种称为“活动铰链”的特殊铰链,它可以在设备中实现双屏幕支持,换句话说,当折叠屏幕时,可折叠设备将变成手机,拉开屏幕时则可以进入平板模式。
与单屏幕设备相比,双屏能够显著增加显示面积,而在手机模式下,双屏将屏幕对屏幕对折起到保护作用,而这种铰链设计让微软设备可以360度弯折,用户可以通过翻转看到另外一块显示屏的显示内容。





首页
上一篇 

评论