-
专利 -
商标 -
版权 -
商业秘密 -
反不正当竞争 -
植物新品种 -
地理标志 -
集成电路布图设计 -
技术合同 -
传统文化
点击展开全部
律师动态
更多 >>知产速递
更多 >>审判动态
更多 >>案例聚焦
更多 >>法官视点
更多 >>裁判文书
更多 >>

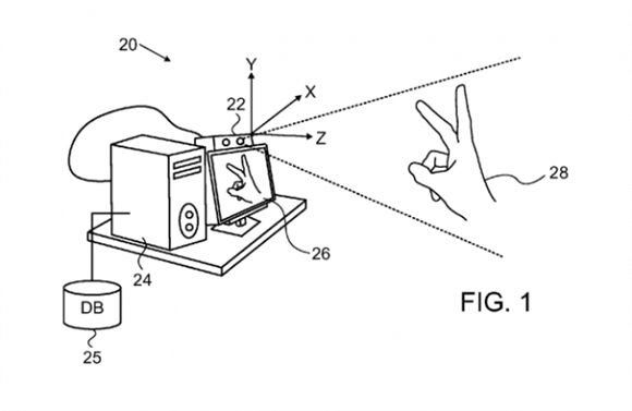
??????? 据报道,苹果的一项3D手势识别专利近日获得了美国专利商标局批准。该专利通过光学3D映射系统来识别用户手势,同时由于借助了机器学习算法,因此能够在较为恶劣的条件下也能识别非常精细的手势,比方说,哪怕有异物遮挡系统也能够分辨出V字手势和紧握拳头。
?
??????? 据专利描述,这套3D影像硬件可以较高精度创建出场景的深度图,然后对其进行处理,识别出标记点及其相互关系,再重新构造出数字化的骨骼图。这套系统跟一般识别系统不一样的地方是,它可以在部分标记点残缺的情况下对手势进行识别。这是因为这套系统会把平时的处理数据交给后台的一套学习系统,一旦手势被部分遮挡时,后台会利用学习数据进行部分模式匹配来猜测手势动作,从而提高了识别的环境耐受力和精细度。
?
??????? 这项专利的申请人为以色列动作感应及3D扫描硬件与中间件初创企业公司PrimeSense的前员工。PrimeSense的技术是包括微软Kinect在内的许多手势识别系统的基础。前年苹果收购了PrimeSense,并于去年把PrimeSense的专利转入了自己名下。这次的精细手势识别专利获批相信可以为苹果提供更多的控制模式创造机会,比方说也许将来用于Apple TV的控制中。




首页
上一篇 

评论