
-
专利
-
商标
-
版权
-
商业秘密
-
反不正当竞争
-
植物新品种
-
地理标志
-
集成电路布图设计
-
技术合同
-
传统文化
点击展开全部
律师动态
更多 >>知产速递
更多 >>审判动态
更多 >>案例聚焦
更多 >>法官视点
更多 >>裁判文书
更多 >>台湾10个最有趣专利:能爬的闹钟
发布时间:2016-01-04
来源:cnbeta网站(台州)
作者:
字号: +-
563
??????? 初来乍到这个智财世界,听到“专利”这两个字时,就有种尖端科技、高深莫测的印象。但其实仔细了解之后,发现还是有很多有趣的生活应用,会让你不得不赞叹这些发明家们天马行空的创意。以下,便挑了10件在2015年公开或公告的台湾专利来与读者们分享,肯定会让你与专利拉近彼此的距离。?
??????? 1、可移动爬行的闹钟(第TW201531821号)?
??????? 对于许多人来说,早晨要离开那温暖的被窝,宛如与恋人离别那般不舍。?
??????? “可移动爬行的闹钟”这项专利内容中,叫人起床的方法可真是绝了!它是一个长相如毛毛虫外观的闹钟,配备人体温度感测设备,到了该起床的时刻,它就会朝你所在的地方前进,然后在你身上爬来爬去,并且同时发出叫声。把它关闭的方法是得抓住它,让它动弹不得。这个毛毛虫闹钟除了从听觉上着手外,更外加了触觉方式,来唤醒你这个赖床鬼。?
?????
??????? 话说,从专利文字的描述上感觉这个毛毛虫闹钟有点惊悚,不过从图来看,其实蛮可爱的。?
??????? 2、具捕蚊功能的笔记本电脑散热座(第I510901号)?
??????? 这个发明让笔者当场楞在电脑前,联想力真的无极限啊!?
??????? “具捕蚊功能的笔记本电脑散热座”这项专利提到的散热座,其外观、功能与一般的笔电散热座没甚么不同,差异在于当不使用笔记本电脑时,可把这个散热座立起来,其所配备的LED光源设备便会将吸引蚊子过来,当蚊子靠近时,风扇会强力运转,产生气旋将蚊子吸进去,把蚊子困在集中盒里面,然后慢慢被风干。?
??????? 3、香肠香皂(第M512587号)?
??????? 笔者真的很好奇,香肠明明是个油油腻腻的东西,怎么会跟肥皂联想在一起??
??????? 香肠香皂,原来就是在红色的肥皂中??入透明的肥皂,呈现瘦肉与肥肉,丝瓜布包在外面就像是大肠包小肠的大肠。?

??????? 4、狗便自动承接总成、便器、便袋(第TW201505540号)?
??????? 这绝对是个造福爱养狗,却又不爱收拾狗大便的绝佳发明。狗奴们陪主子去出巡时都要准备塑胶袋、夹子以备不时之需(其实有高达99%的机率会用到,狗狗们超爱在外面“嗯嗯”的),有时候主子兴致好就在别人家门口骑楼直接嗯嗯了,实在尴尬。?
??????? 狗便自动承接便袋,就是一个以磁铁吸附的收纳纸袋,当狗狗嗯嗯的时候就会把磁铁推开,装到收纳纸袋里,帮各位奴才们省了不少力气,也落实了垃圾不落地!?
??????? 但要让狗狗穿上它肯定是件难事,希望我家主子不会抗拒这个发明。?
??????? 5、防狼喷雾鞋与??乜厣璞?#xff08;第I513421号)?
??????? 发明人提到出现这样的发想,是因为在面临歹徒时,身上的包包有很大的可能会被抢走,因此即使随身携带防身设备也无法发挥作用,而如果穿上这个防狼喷雾鞋,就可以在赤手空拳的情况下获得与歹徒周旋的机会,只要按下??厣璞?#xff0c;就会喷洒出刺激性药剂,并且会发出LED眩光吓阻歹徒。?
??????? 笔者不禁好奇,按下开关后要做出跆拳道高踢腿的动作,还是开始奔跑让喷雾向后蔓延阻止歹徒追上呢??
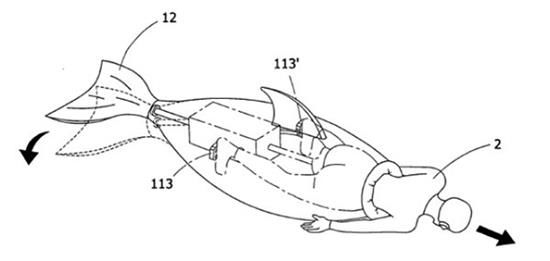
??????? 6、人力水中推进器(第M506775号)?
??????? 不会游泳的人有福了,这个发明可以让你在水中高速移动。?
??????? 动作原理其实很像骑脚踏车,套在这个设备里面,可以不受水中阻力的影响,更为省力。?
??????? 7、具保温控温的手机(第M513518号)?
??????? 在寒冬中许多人都有使用暖暖包的习惯,不过暖暖包不能重复使用,会造成资源的浪费。利用人手一支的智能手机来做为发热的保暖工具,似乎是个不错的想法。?

??????? 其实看到这个发明,笔者认为自己错怪HTC了!笔者的HTC手机之所以会如此烫,一定是采用了这个技术,真是贴心的良心企业。?
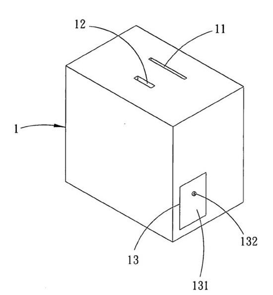
??????? 8、具有存钱构造的打卡钟(第M501615号)?
??????? 员工迟到要打卡的话,嘿嘿,先投钱再说!?
??????? 这个具有存钱构造的打卡钟,若遇有员工超过上班时间打卡时,必须先将罚金投入至投币孔中,待感应单元感应判断罚金的金额正确后,控制单元即驱动吸卡机构,使员工可继续补打卡片,故能有效地管理员工上、下班出缺勤的时间。?
??????? 看你还敢不敢迟到!(不知道这样有没有违反劳基法?)?
??????? 9、麦克风式的蒸汽吸入器(第M511333号)?
??????? 对于有呼吸道疾病的小朋友来说,多半需要以喷雾治疗,但是那个药好臭,又要戴上吸药器的面罩,许多的小朋友都会很抗拒。?
??????? 将蒸汽吸入器做成麦克风造型,并在内部装设有一音乐播放设备与一含药蒸气产生部,如此一来,当音乐播放设备开始播放音乐,且病童跟着所播放的音乐一起唱歌时,便能透过病童唱歌时嘴巴一张一阖及换气的动作,将含药成分之蒸气吸入体内,达到提高病童治疗意愿的效果。?

??????? 10、防狼壶结构(第M498863号)?
??????? 前面有提到一个防狼喷雾鞋,如果你刚好没穿那双鞋出门,没关系!这里还有一招:具防身效果的防狼壶。?
??????? 天下武功,为快不破,平常是个水壶的它,遭遇危险的时候,反手拿起这个水壶猛力一棒给他挥过去。?
??????? 据说瓶身材质为强化玻璃,保证色狼痛到哀哀叫!?
??????? 你觉得哪个最有趣呢?2015年大家申请的专利其实不少,以上这10件有趣的专利仅是少部份,如果你也发掘了其他有趣的专利,不妨跟大家分享分享吧。
??????? 1、可移动爬行的闹钟(第TW201531821号)?
??????? 对于许多人来说,早晨要离开那温暖的被窝,宛如与恋人离别那般不舍。?
??????? “可移动爬行的闹钟”这项专利内容中,叫人起床的方法可真是绝了!它是一个长相如毛毛虫外观的闹钟,配备人体温度感测设备,到了该起床的时刻,它就会朝你所在的地方前进,然后在你身上爬来爬去,并且同时发出叫声。把它关闭的方法是得抓住它,让它动弹不得。这个毛毛虫闹钟除了从听觉上着手外,更外加了触觉方式,来唤醒你这个赖床鬼。?
?????
??????? 话说,从专利文字的描述上感觉这个毛毛虫闹钟有点惊悚,不过从图来看,其实蛮可爱的。?
??????? 2、具捕蚊功能的笔记本电脑散热座(第I510901号)?
??????? 这个发明让笔者当场楞在电脑前,联想力真的无极限啊!?
??????? “具捕蚊功能的笔记本电脑散热座”这项专利提到的散热座,其外观、功能与一般的笔电散热座没甚么不同,差异在于当不使用笔记本电脑时,可把这个散热座立起来,其所配备的LED光源设备便会将吸引蚊子过来,当蚊子靠近时,风扇会强力运转,产生气旋将蚊子吸进去,把蚊子困在集中盒里面,然后慢慢被风干。?
??????? 3、香肠香皂(第M512587号)?
??????? 笔者真的很好奇,香肠明明是个油油腻腻的东西,怎么会跟肥皂联想在一起??
??????? 香肠香皂,原来就是在红色的肥皂中??入透明的肥皂,呈现瘦肉与肥肉,丝瓜布包在外面就像是大肠包小肠的大肠。?

??????? 4、狗便自动承接总成、便器、便袋(第TW201505540号)?
??????? 这绝对是个造福爱养狗,却又不爱收拾狗大便的绝佳发明。狗奴们陪主子去出巡时都要准备塑胶袋、夹子以备不时之需(其实有高达99%的机率会用到,狗狗们超爱在外面“嗯嗯”的),有时候主子兴致好就在别人家门口骑楼直接嗯嗯了,实在尴尬。?
??????? 狗便自动承接便袋,就是一个以磁铁吸附的收纳纸袋,当狗狗嗯嗯的时候就会把磁铁推开,装到收纳纸袋里,帮各位奴才们省了不少力气,也落实了垃圾不落地!?
??????? 但要让狗狗穿上它肯定是件难事,希望我家主子不会抗拒这个发明。?
??????? 5、防狼喷雾鞋与??乜厣璞?#xff08;第I513421号)?
??????? 发明人提到出现这样的发想,是因为在面临歹徒时,身上的包包有很大的可能会被抢走,因此即使随身携带防身设备也无法发挥作用,而如果穿上这个防狼喷雾鞋,就可以在赤手空拳的情况下获得与歹徒周旋的机会,只要按下??厣璞?#xff0c;就会喷洒出刺激性药剂,并且会发出LED眩光吓阻歹徒。?
??????? 笔者不禁好奇,按下开关后要做出跆拳道高踢腿的动作,还是开始奔跑让喷雾向后蔓延阻止歹徒追上呢??
??????? 6、人力水中推进器(第M506775号)?
??????? 不会游泳的人有福了,这个发明可以让你在水中高速移动。?
??????? 动作原理其实很像骑脚踏车,套在这个设备里面,可以不受水中阻力的影响,更为省力。?
??????? 7、具保温控温的手机(第M513518号)?
??????? 在寒冬中许多人都有使用暖暖包的习惯,不过暖暖包不能重复使用,会造成资源的浪费。利用人手一支的智能手机来做为发热的保暖工具,似乎是个不错的想法。?

??????? 其实看到这个发明,笔者认为自己错怪HTC了!笔者的HTC手机之所以会如此烫,一定是采用了这个技术,真是贴心的良心企业。?
??????? 8、具有存钱构造的打卡钟(第M501615号)?
??????? 员工迟到要打卡的话,嘿嘿,先投钱再说!?
??????? 这个具有存钱构造的打卡钟,若遇有员工超过上班时间打卡时,必须先将罚金投入至投币孔中,待感应单元感应判断罚金的金额正确后,控制单元即驱动吸卡机构,使员工可继续补打卡片,故能有效地管理员工上、下班出缺勤的时间。?
??????? 看你还敢不敢迟到!(不知道这样有没有违反劳基法?)?
??????? 9、麦克风式的蒸汽吸入器(第M511333号)?
??????? 对于有呼吸道疾病的小朋友来说,多半需要以喷雾治疗,但是那个药好臭,又要戴上吸药器的面罩,许多的小朋友都会很抗拒。?
??????? 将蒸汽吸入器做成麦克风造型,并在内部装设有一音乐播放设备与一含药蒸气产生部,如此一来,当音乐播放设备开始播放音乐,且病童跟着所播放的音乐一起唱歌时,便能透过病童唱歌时嘴巴一张一阖及换气的动作,将含药成分之蒸气吸入体内,达到提高病童治疗意愿的效果。?

??????? 10、防狼壶结构(第M498863号)?
??????? 前面有提到一个防狼喷雾鞋,如果你刚好没穿那双鞋出门,没关系!这里还有一招:具防身效果的防狼壶。?
??????? 天下武功,为快不破,平常是个水壶的它,遭遇危险的时候,反手拿起这个水壶猛力一棒给他挥过去。?
??????? 据说瓶身材质为强化玻璃,保证色狼痛到哀哀叫!?
??????? 你觉得哪个最有趣呢?2015年大家申请的专利其实不少,以上这10件有趣的专利仅是少部份,如果你也发掘了其他有趣的专利,不妨跟大家分享分享吧。
评论