
-
专利
-
商标
-
版权
-
商业秘密
-
反不正当竞争
-
植物新品种
-
地理标志
-
集成电路布图设计
-
技术合同
-
传统文化
点击展开全部
律师动态
更多 >>知产速递
更多 >>审判动态
更多 >>案例聚焦
更多 >>法官视点
更多 >>裁判文书
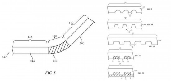
更多 >>据外媒报道,周二的时候,美国专利商标局(USPTO)向苹果授予了一项“柔性屏电子设备”的专利,其中详细描述了一款可折叠移动设备是如何被制造的。 由图可知,这款类似平板电脑或智能手机的设备,其屏幕可以覆盖整个机身侧边,中间的“内聚线”并不明显。专利描述称,这一概念依赖于在设备中使用多个柔性元件。
在弯曲过程中,被折叠部分的内侧材料有压缩、而外部材料会变薄,前者可能导致显示层出现问题。
为解决这个问题,该专利建议在显示层材料的中间位置部署?;ば缘陌疾?#xff0c;以减少质量聚集和应力的影响。
有意思的是,在不受折叠影响的部分,可能会覆上坚固的非柔性玻璃?;谎灾?#xff0c;横跨两个实心部分的间隙,才会是完全柔性的。
在一种实施方案中,甚至连玻璃层都可以被弯曲。它可以得到聚合物层的支撑,凹槽和弯曲部分会与玻璃保持平行。
除了显示屏外,这款概念装置的其余部分也需要柔性材料来覆盖折叠部分的外侧,甚至可在中间纳入铰链、以帮助柔性点保持弯曲。
这项专利最初由苹果在 2016 年 6 月 8 号提交,发明人为 Jiang Ai、Erik A. UYttermann 和 Soyoung Kim 。
实际上,这项专利是苹果多年来向 USPTO 提交的一系列类似申请中的最新一项,比如2017 年 10 月、以及2016 年 11 月这两份。
需要指出的是,尽管苹果经常向 USPTO 提交专利申请,但很多不见得会立即投入实际产品。毕竟当前各大厂家都在这方面发力,所以该公司必须积极做准备。
评论