-
专利 -
商标 -
版权 -
商业秘密 -
反不正当竞争 -
植物新品种 -
地理标志 -
集成电路布图设计 -
技术合同 -
传统文化
律师动态
更多 >>知产速递
更多 >>审判动态
更多 >>案例聚焦
更多 >>法官视点
更多 >>裁判文书
更多 >>根据美国专利商标局(USPTO)10月16日公布的数据显示,苹果公司又增加了一款与可折叠设备有关的专利,但从目前曝光的消息来看,全球首发可折叠设备的或是三星华为等安卓手机厂商,而苹果将与首发无缘。
?

近日,各大手机厂商纷纷被曝光出正在研发折叠屏手机,三星、华为、联想等手机厂商皆有望在2019年使旗下的可折叠手机进入量产阶段,而三星则是最有可能成为“首发折叠屏手机”的智能手机厂商。从苹果断断续续公布的专利来看,尽管苹果对折叠式设备市场或仍处于观望阶段,但也一直在为未来进军可折叠设备市场做准备。
?
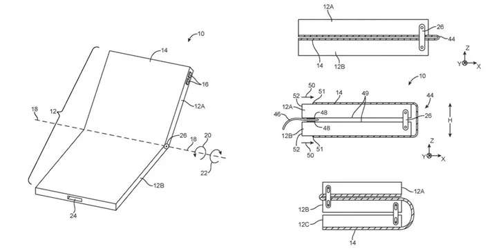
苹果最新公布的专利名为“柔性显示设备”,编号为10,104,787。该专利由苹果公司2016年9月提出申请,直到最近才被美国专利商标局公布。
?
该专利描述了一款可以提供包含多个壳体部分的电子设备,壳体部分可以使用铰链连接在一起。而专利文件中详细的描述了多种用于可折叠设备的铰链机构,例如基于三连杆机构的铰链,基于四连杆机构的铰链,具有开槽构件的铰链,由柔性支撑结构形成的铰链,以及基于柔性外壳结构的铰链。
?
该设备上的显示器部分可以安装到与铰链重叠的壳体处。当装置中的壳体部分相对于彼此旋转时,柔性显示器可以弯曲。铰链可以被配置为允许柔性显示器以前到前配置放置,其中显示器的有源侧面向自身或者背对背配置。接合结构可用于帮助壳体抓住外部物体并将壳体部分保持在一起。铰链可设置有旋转棘爪,以帮助将柔性显示器保持在期望的位置。
?
从专利的提交时间以及苹果透露出的信息来看,苹果似乎并没有兴趣去争夺“首发折叠屏手机”这个名头,而之所以过早的申请相关专利,也许只是为了避免以后进军可折叠设备市场时出现复杂的专利纠纷。
?
从目前的情况来看,苹果这一策略或许会到折叠屏手机正式发布后才将改变,因为随着折叠屏手机的发布,可折叠设备市场的前景与不足将会变得更加清晰明了。




首页
上一篇 

评论