
-
专利
-
商标
-
版权
-
商业秘密
-
反不正当竞争
-
植物新品种
-
地理标志
-
集成电路布图设计
-
技术合同
-
传统文化
点击展开全部
律师动态
更多 >>知产速递
更多 >>审判动态
更多 >>案例聚焦
更多 >>法官视点
更多 >>裁判文书
更多 >>作为中央广播电视总台主办、以视频为特色的中央重点新闻网站,央视网在业内享有很高的知名度。近日,央视网发布《关于“中央电视台网”侵权事宜严正声明》,称名为“中央电视台网”的机构侵犯了自身商标权等权利,并已经向行政主管部门举报。怎么回事?
先来看看声明的原文。
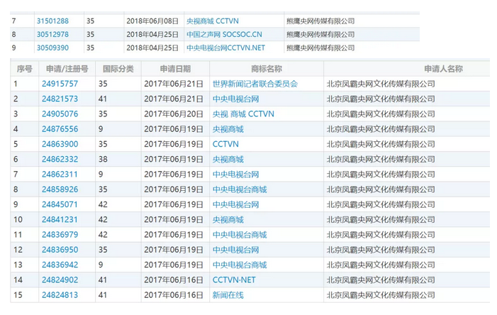
小编通过查询中国商标网发现,“中央电视台网”运营主体熊鹰央网传媒集团有限公司(原名北京凤霸央网文化传媒有限公司)提交了多件名为“中央电视台网”“CCTVN”“中央电视台商城”等商标的注册申请,不过上述商标已经被驳回注册申请。
根据企查查,熊鹰央网传媒集团有限公司还对“中央电视台网”“中国之声网”等美术作品进行了著作权登记。
“中央电视台网”的机构网址为“http://www.cctvn.net/”,但小编未在工信部官网上查询到其ICP备案号等相关网站注册信息。
这并非“中央电视台网”第一次被举报。
2019年6月,经群众举报,广东省佛山市“扫黄打非”办公室处罚了一家名为“中央电视台网广东办事处”的机构。经查,该机构采取假冒、盗用等方式以驻地方机构或者驻地记者名义开展活动,被予以取缔。
对于这次事件,网友们给出了评论。
中国知识产权报会继续关注事件的后续发展。
评论