
-
专利
-
商标
-
版权
-
商业秘密
-
反不正当竞争
-
植物新品种
-
地理标志
-
集成电路布图设计
-
技术合同
-
传统文化
律师动态
更多 >>知产速递
更多 >>审判动态
更多 >>案例聚焦
更多 >>法官视点
更多 >>裁判文书
更多 >>在国内珠宝首饰行业,“周氏家族”成员众多,如周大福、周生生、周大生、周六福等,继周大福、周生生、周大生这些“周氏前辈”上市之后,周六福珠宝股份有限公司(下称周六福)也向A股发起冲刺,于10月29日上会。
并非首次冲刺IPO
在周大福、周生生、周大生等珠宝品牌纷纷上市后,周六福也要上市了。公开资料显示,报告期内,周六福门店数量、业绩规模实现快速发展。截至2018年12月31日,周六福境内门店数量较同行业上市公司排名前四。截至2020年6月30日,公司拥有加盟店3050家、自营店20家,营销网络遍布全国。
据了解,周六福并非首次冲刺IPO,2019年12月6日,是周六福第二次向证监会递交招股说明书,此次距离周六福IPO第一次“冲关”仅6个多月。
招股书显示,周六福的主营业务是首饰的研发设计、生产加工、连锁销售以及品牌运营,主营产品涵盖为镶嵌首饰和素金首饰,品类包括戒指、项链、吊坠、手链等。
商标状况如何?
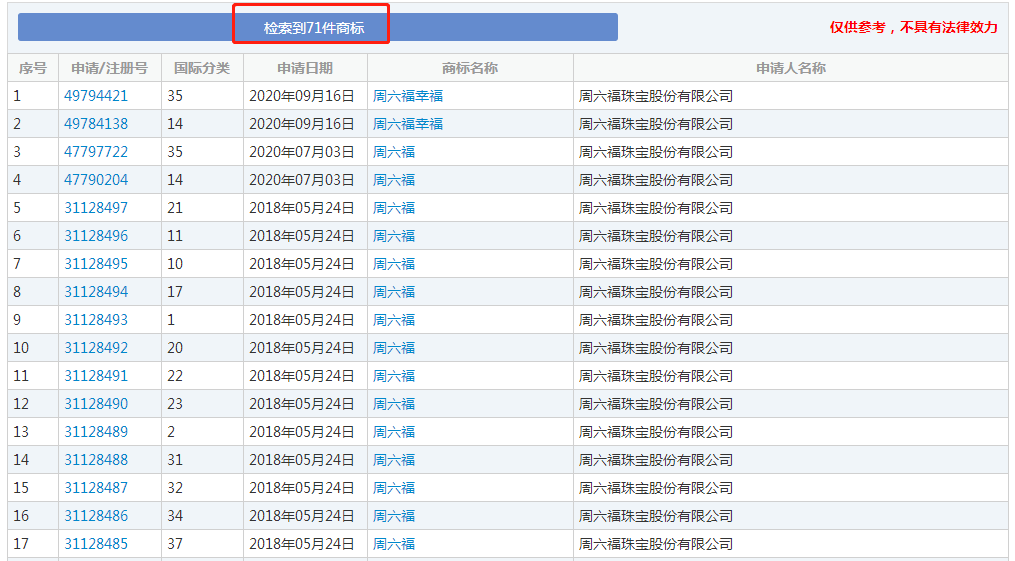
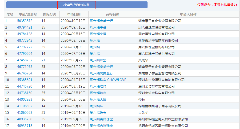
身处知识产权行业,小编自然关心冲刺IPO的周六福的商标状况。中国商标网查询结果显示,周六福作为申请人共申请了71件关于“周六福”的商标。
而在中国商标网中共能查询到299件“周六福”商标,其中最早的一件“周六?!鄙瘫晡芰5拇词既死钗爸?003年09月28日提交申请注册的第3736612号“周六?!鄙瘫?#xff0c;目前,该商标已失效。
此外,在商标涉诉方面,中国裁判文书网显示,与周六福有关的商标纠纷不少。据媒体报道,早在2015年,当时的东莞市高尚周六?;平鹱晔?#xff08;现已更名为“东莞市皇悦”珠宝)、福建周六福黄金钻石首饰、香港周六?;平鹱晔资渭诺让浦芯小爸芰!钡墓径灾芰L崞鹚咚?#xff0c;称其对“周六?!闭庖簧唐访凭哂性谙仁褂萌?#xff0c;请求法院确认周六福对“周六?!比鲋形淖植幌碛凶⒉嵘瘫曜ㄓ萌?#xff0c;确认中文“周六?!辈皇侵唐返奶赜忻?#xff0c;而是经过众多企业和经营者共同使用已被公众普遍认为指代珠宝首饰商品的通用名称。截至目前,该案件尚未审结。
周六福二次冲刺IPO,是否能如愿,让我们一起拭目以待。
评论